授权公布号:CN213458552U
一种大提琴练习用指环套
有效
申请
2020-08-14
申请公布
1970-01-01
授权
2021-06-15
预估到期
2030-08-14
| 申请号 | CN202021709536.8 |
| 申请日 | 2020-08-14 |
| 授权公布号 | CN213458552U |
| 授权公告日 | 2021-06-15 |
| 分类号 | G09B15/06 |
| 分类 | 教育;密码术;显示;广告;印鉴; |
| 申请人名称 | 泰兴市维凯纳乐器有限公司 |
| 申请人地址 | 江苏省泰州市泰兴市黄桥镇野向村6组 |
专利法律状态
2021-06-15
授权
状态信息
授权
摘要
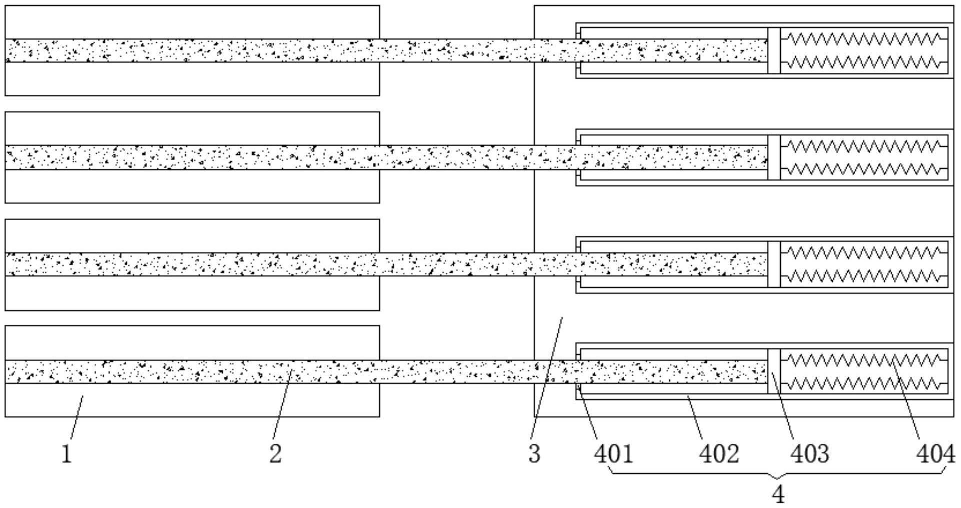
本实用新型公开了一种大提琴练习用指环套,包括腕带本体,腕带本体正面侧壁的右侧等间距固定安装有伸缩机构,伸缩机构包括连通孔、皮质连接框、限位块和弹簧,四组伸缩机构内部左侧均固定安装有贯穿伸缩机构的第二连接带,四组第二连接带的正面均固定粘贴有第一魔术贴毛面。该大提琴练习用指环套通过四组指环套本体带动四组第二连接带向左侧移动,然后使得第一魔术贴勾面与第一魔术贴毛面之间配合固定第二连接带,从而在学员想要继续向下按压导致手背继续弯曲时能够在第一魔术贴勾面和第一连接带的配合下进行限位,在学员放松压力时手背向上舒展导致四组第一魔术贴毛面出现无法绷紧的现象进而及时提醒学员,从而提高学习的速率及效果。


