授权公布号:CN111794668B
一种直线传动的电动卷帘门
有效
申请
2020-07-10
申请公布
2020-10-20
授权
2022-07-05
预估到期
2040-07-10
| 申请号 | CN202010663511.7 |
| 申请日 | 2020-07-10 |
| 申请公布号 | CN111794668A |
| 申请公布日 | 2020-10-20 |
| 授权公布号 | CN111794668B |
| 授权公告日 | 2022-07-05 |
| 分类号 | E06B9/68;E06B9/80;E06B9/58;E06B9/08;E05F5/08 |
| 分类 | 一般门、窗、百叶窗或卷辊遮帘;梯子; |
| 申请人名称 | 台州玖伍保温材料有限公司 |
| 申请人地址 | 浙江省台州市椒江区葭沚街道星洲小区22号楼东2间 |
专利法律状态
2022-07-05
授权
状态信息
授权
2020-10-20
公布
状态信息
公布
摘要
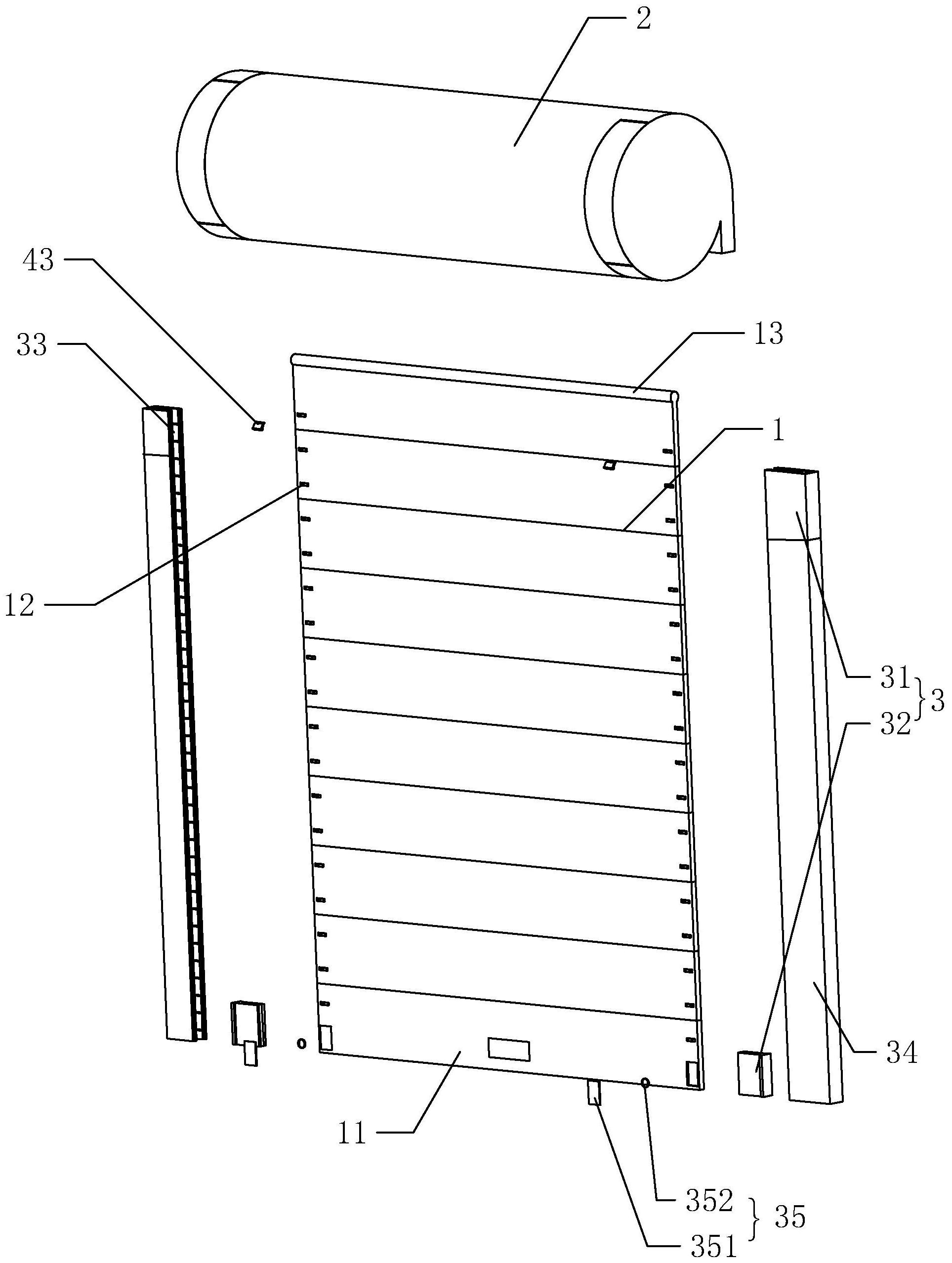
本发明公开了一种直线传动的电动卷帘门,其技术方案要点是:包括卷帘本体、卷收蜗壳、U槽直线电机、提升部,U槽直线电机包括定子轨道、动子,卷帘本体设有制动槽,卷收蜗壳设有制动装置,制动装置包括扭簧、制动电磁铁、卡接件,卷收蜗壳设有卡条,卷帘本体设有限位件,卷收蜗壳内设有停止电磁铁。定子轨道设有缓冲导轨,提升部设有弹性件,弹性件包括耐磨钢块、弹簧。通过设置U槽直线电机驱动动子沿直线运动,代替人员手动对提升部进行抬动,较为方便;通过设置制动装置,使本卷帘门在放出的过程中可以随时进行制动,避免将下方人员砸伤;通过设置缓冲导轨,可对本卷帘门的下降速度进行缓冲,使人员能够有制动的反应时间。


