授权公布号:CN212911465U
一种用于牦牛肉加工的切片装置
有效
申请
2020-07-22
申请公布
1970-01-01
授权
2021-04-09
预估到期
2030-07-22
| 申请号 | CN202021459947.6 |
| 申请日 | 2020-07-22 |
| 授权公布号 | CN212911465U |
| 授权公告日 | 2021-04-09 |
| 分类号 | A22C17/00;B26D1/30;B26D7/06;B26D7/01;B26D7/26 |
| 分类 | 屠宰;肉品处理;家禽或鱼的加工; |
| 申请人名称 | 青海西北骄天然营养食品有限公司 |
| 申请人地址 | 青海省西宁市生物科技产业园区经三路28号 |
专利法律状态
2021-04-09
授权
状态信息
授权
摘要
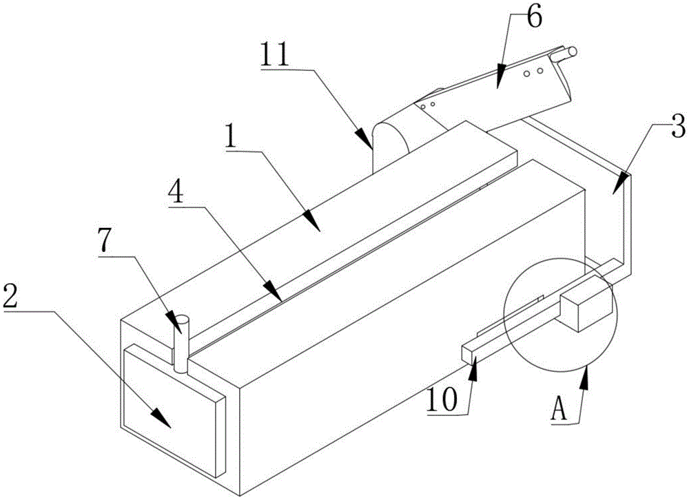
本实用新型涉及牛肉加工技术领域,公开了一种用于牦牛肉加工的切片装置,包括切片装置主体,所述切片装置主体的内侧的一端滑动连接有推肉板,所述切片装置主体中间设置有推杆槽,所述切片装置主体的两侧下端均设置有方槽,所述方槽的下端均设有若干排列整齐的卡扣槽,所述切片装置主体前后端的下侧均设置有拉杆,所述拉杆的顶端连接有挡肉板。本实用新型通过切刀片和切刀主体,当切刀片磨损时可以方便快速取下和安装,从而方便使用者快速简单的更换切刀片,通过挡肉板、推肉板、推杆槽、方槽、卡扣、拉杆、卡扣槽和推杆,可以方便地调节肉块从切片装置主体露出部分,从而调节切下来肉片的宽度,从而方便了使用者切肉。


