授权公布号:CN215127209U
一种基于肉类加工的防漏的可倾式夹层锅
有效
申请
2021-06-07
申请公布
1970-01-01
授权
2021-12-14
预估到期
2031-06-07
| 申请号 | CN202121263029.0 |
| 申请日 | 2021-06-07 |
| 授权公布号 | CN215127209U |
| 授权公告日 | 2021-12-14 |
| 分类号 | A47J27/04;A47J36/00 |
| 分类 | 家具;家庭用的物品或设备;咖啡磨;香料磨;一般吸尘器; |
| 申请人名称 | 青海西北骄天然营养食品有限公司 |
| 申请人地址 | 青海省西宁市青海生物科技产业园区经三路28号 |
专利法律状态
2021-12-14
授权
状态信息
授权
摘要
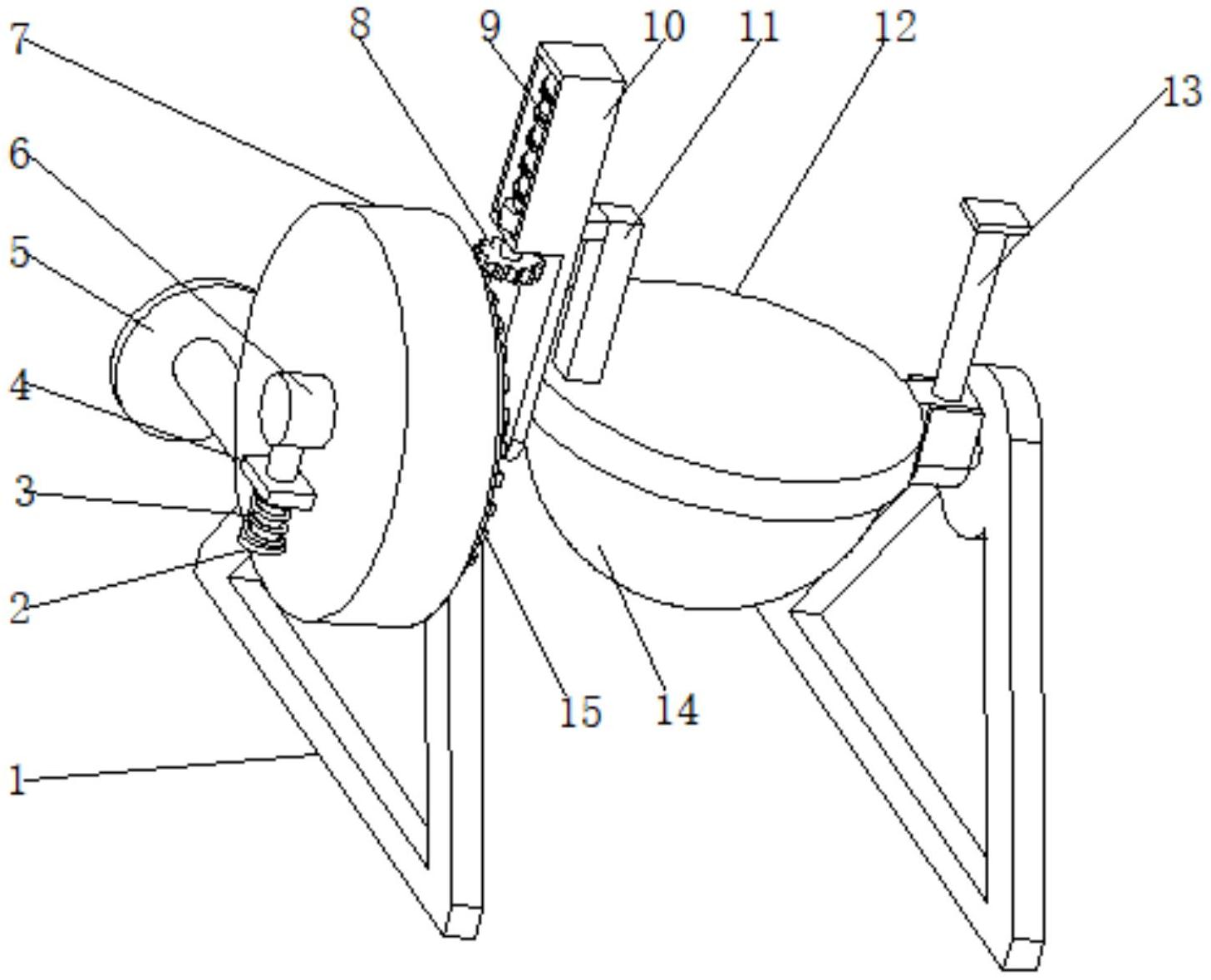
本实用新型公开了一种基于肉类加工的防漏的可倾式夹层锅,涉及食品加工设备技术领域,包括支撑架、定位机构、移动机构,所述支撑架的内侧设置有锅体。本实用新型通过设置定位机构来使蜗杆在进行反向转动时,锅盖盖在锅体上,当定位销与定位孔对齐时,定位销便会通过伸缩弹簧的带动插入定位孔内,此时锅体正好位于水平状态,由此对锅体进行限位,从而防止锅体处于倾斜状态而对设备的运作造成影响;通过设置移动机构来使蜗轮带动蜗杆进行转动时齿轮沿着环形齿条进行转动,从而使L形连接块沿着丝杆进行移动,由此便可使L形连接块带动锅盖进行移动,由此便可使锅体进行转动时锅盖打开,通过以上多个零件的相互配合有效提高了装置使用的便利性。


