授权公布号:CN217011216U
一种用于发热电极片的双温控装置
有效
申请
2022-03-29
申请公布
1970-01-01
授权
2022-07-19
预估到期
2032-03-29
| 申请号 | CN202220701690.3 |
| 申请日 | 2022-03-29 |
| 授权公布号 | CN217011216U |
| 授权公告日 | 2022-07-19 |
| 分类号 | H05B1/02;H05B3/00;A61F7/00 |
| 分类 | 其他类目不包含的电技术; |
| 申请人名称 | 河北路德医疗器械有限公司 |
| 申请人地址 | 河北省石家庄市高新区太行南大街769号京津冀协作创新示范园201号C栋206-1 |
专利法律状态
2022-07-19
授权
状态信息
授权
摘要
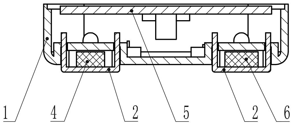
一种用于发热电极片的双温控装置,由壳体、安装在壳体内的线路板、安装在壳体底部的金属罩和热疗插座、分开安装在不同金属罩底部的温度传感器和温控器组成。金属罩向外凸出壳体底部外侧;温度传感器、一个热疗插座分别与线路板电连接;温控器一端与线路板电连接,另一端与线路板、另一个热疗插座顺序电连接。本实用新型用于监测发热电极片的表面温度变化,具有两级温控保护方式,避免热敷时烫伤皮肤,对使用者提供更安全、有效的保护。


