授权公布号:CN210259083U
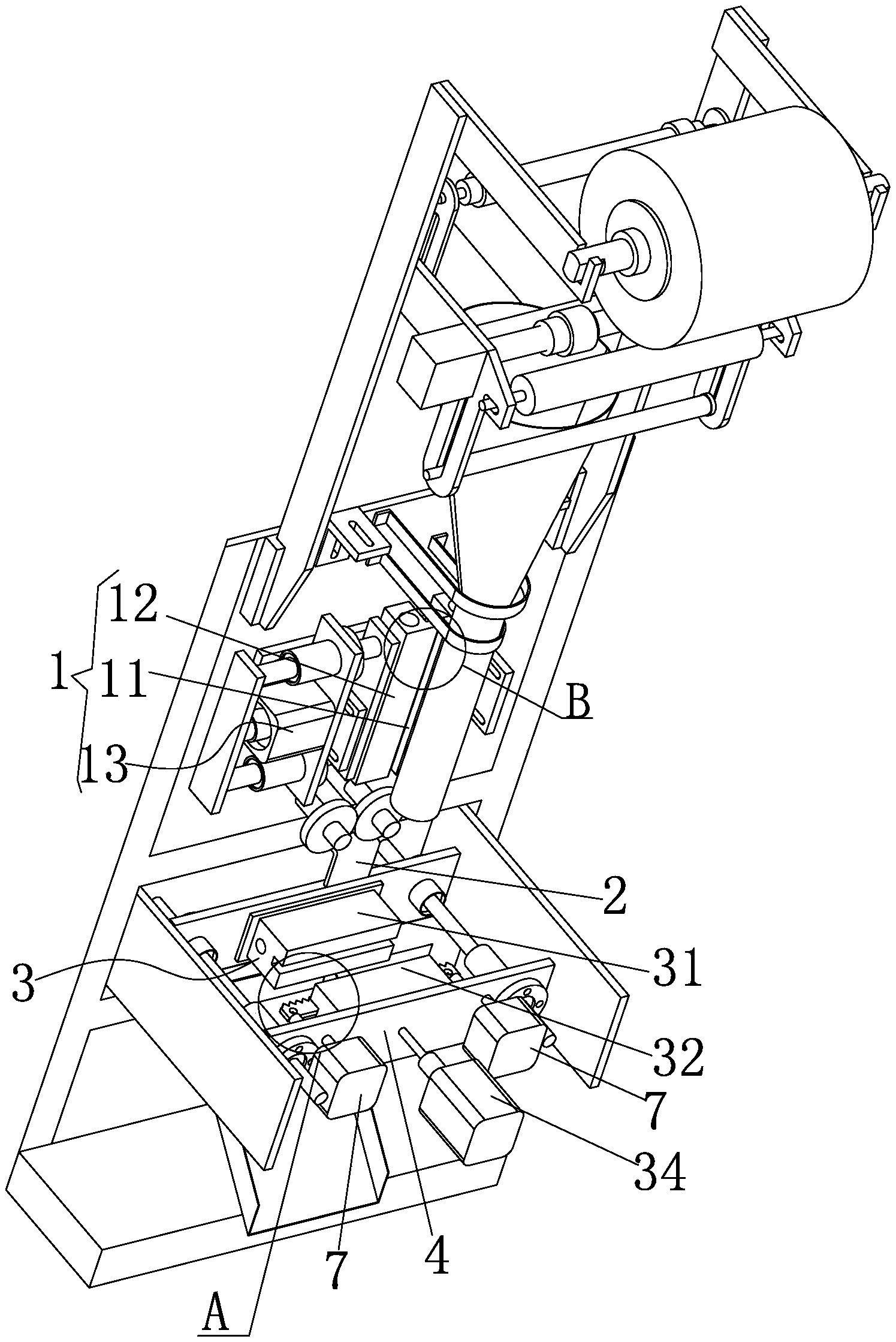
一种钥匙扣包装机的封装组件
有效
申请
2019-07-02
申请公布
1970-01-01
授权
2020-04-07
预估到期
2029-07-02
| 申请号 | CN201921019764.X |
| 申请日 | 2019-07-02 |
| 授权公布号 | CN210259083U |
| 授权公告日 | 2020-04-07 |
| 分类号 | B65B51/26 |
| 分类 | 输送;包装;贮存;搬运薄的或细丝状材料; |
| 申请人名称 | 浙江佰格迪科技有限公司 |
| 申请人地址 | 浙江省金华市义乌稠江街道城店南路788号6栋7号电梯6楼 |
专利法律状态
2020-04-07
授权
状态信息
授权
摘要
本实用新型公开一种钥匙扣包装机的封装组件,从上至下依次安装于机架的竖直的纵向热封机构、转向板和水平的横向热封机构;所述转向板为由水平向着所述横向热封机构竖直弯折的板状结构;该实用新型能够快速完成塑料薄膜的纵向热封和横向热封,加工效率高。


