授权公布号:CN217754164U
一种主动给料式封闭导料装置
有效
申请
2022-04-02
申请公布
1970-01-01
授权
2022-11-08
预估到期
2032-04-02
| 申请号 | CN202220751629.X |
| 申请日 | 2022-04-02 |
| 授权公布号 | CN217754164U |
| 授权公告日 | 2022-11-08 |
| 分类号 | B65B1/06 |
| 分类 | 输送;包装;贮存;搬运薄的或细丝状材料; |
| 申请人名称 | 湖南中茶茶业有限公司 |
| 申请人地址 | 湖南省长沙市望城经济技术开发区普瑞西路二段8号 |
专利法律状态
2022-11-08
授权
状态信息
授权
摘要
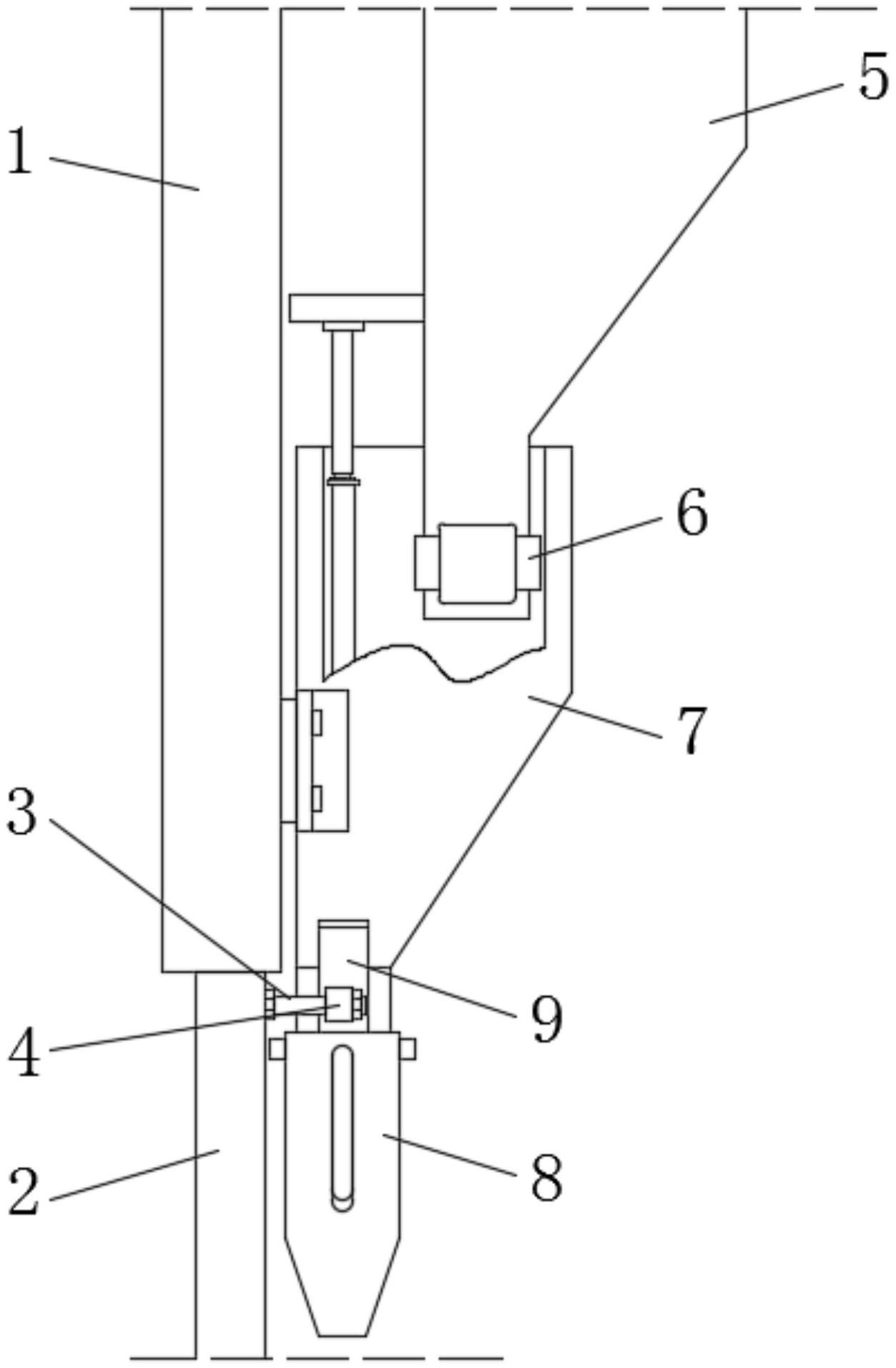
本实用新型公开了一种主动给料式封闭导料装置,包括包装设备主体、储料斗和给料斗,所述包装设备主体一侧设置有储料斗,且储料斗下方设置有给料斗,所述储料斗的底部延伸至给料斗内侧;本实用新型中,通过打开储料斗下部端口处安装的气动阀,促使储料斗内茶叶导入给料斗,再由给料斗底部的出料嘴主动送入到茶叶包装袋内,此过程中,由于给料斗两侧通过定位螺栓连接有两个尖嘴,且两个尖嘴顶部均焊接有配重斜条,使得配重斜条在重力的作用下迫使两个尖嘴下部相向倾斜,直至两个尖嘴处于缩合状态,便于包装袋的套设安装,当茶叶装袋时,下落的茶叶迫使两个尖嘴慢慢自动张开口,直致茶叶等物料送到包装袋最里部位,尖嘴完全张开,下料完成。


