授权公布号:CN106189461B
用于古建筑材料的灰油及其制备方法
有效
申请
2016-08-02
申请公布
2016-12-07
授权
2019-06-18
预估到期
2036-08-02
| 申请号 | CN201610622723.4 |
| 申请日 | 2016-08-02 |
| 申请公布号 | CN106189461A |
| 申请公布日 | 2016-12-07 |
| 授权公布号 | CN106189461B |
| 授权公告日 | 2019-06-18 |
| 分类号 | C09D5/34;C08L91/00;C08K9/04;C08K3/04 |
| 分类 | 染料;涂料;抛光剂;天然树脂;黏合剂;其他类目不包含的组合物;其他类目不包含的材料的应用; |
| 申请人名称 | 北京楚之园环保科技有限责任公司 |
| 申请人地址 | 北京市通州区中关村科技园区通州园金桥科技产业基地景盛南四街13号5号厂房5C |
专利法律状态
2019-06-18
授权
状态信息
授权
2017-01-04
实质审查的生效
状态信息
实质审查的生效IPC(主分类):C09D 5/34申请日:20160802
2016-12-07
公布
状态信息
公开
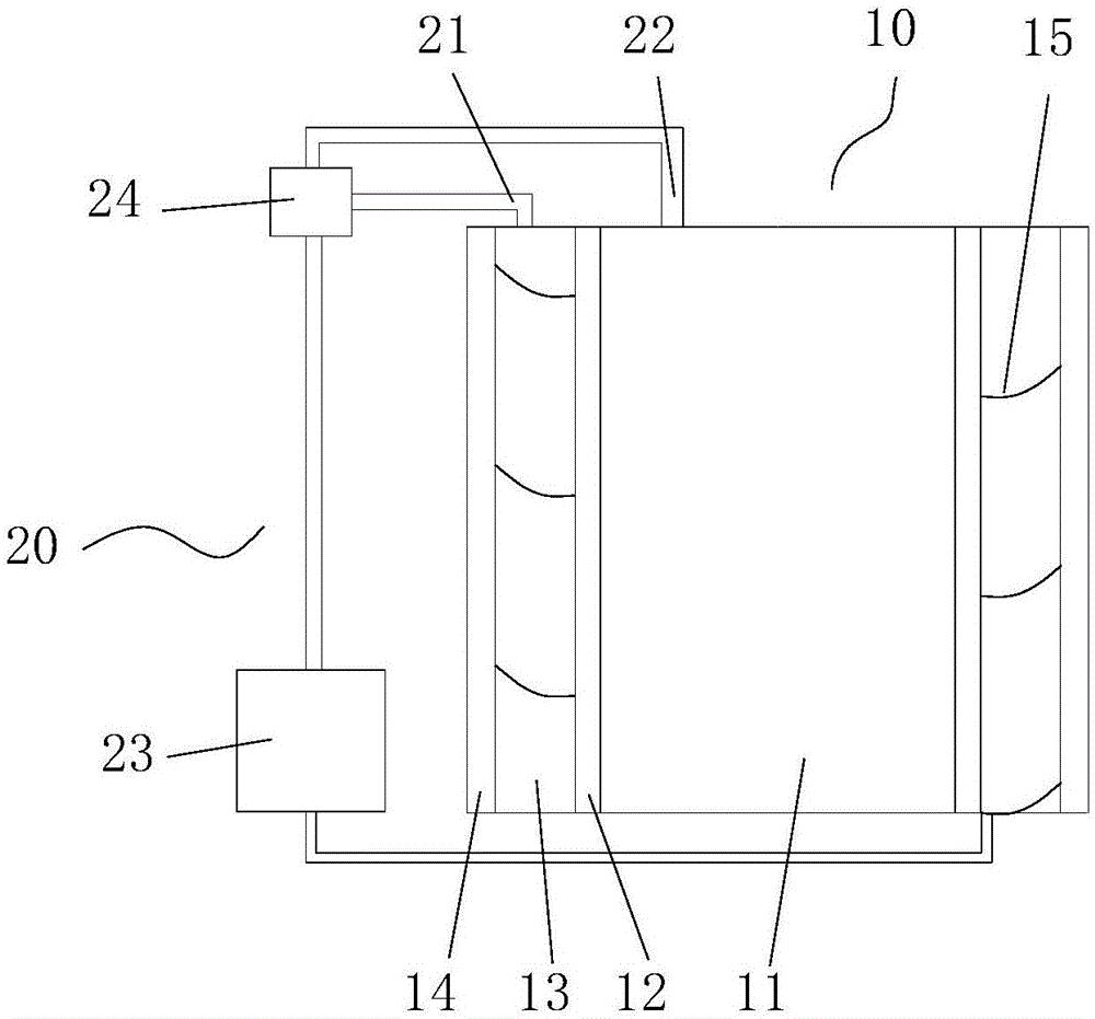
摘要
本发明提供用于古建筑材料的灰油及其制备方法。灰油,是由包括以下重量份数的原料制成:生桐油、辣木籽油、亚麻油、梓油、樟丹粉、土籽粉、密陀僧和石墨烯粉末。灰油制备方法:将生桐油加入反应釜加热并保温,在该过程中保证生桐油处于富氧氛围中;然后将其他植物油加入生桐油中,混匀后加热升温,再加入樟丹粉、土籽粉和石墨烯,混匀,继续升温保温,再自然冷却。针对上述制备过程还提供一种反应装置,保证生桐油的充分熟化,及加热的均匀性,并进一步实现参数的精确控制。本发明的灰油和砖灰、血料搭配成灰油腻子,适用于古建筑材料的修补和填充,尤其是用于古建木材,起到优异的填充木材的作用,同时防水防腐防虫抗菌防紫外线。


