授权公布号:CN208346534U
指型烫衣板
有效
申请
2018-05-30
申请公布
1970-01-01
授权
2019-01-08
预估到期
2028-05-30
| 申请号 | CN201820826366.8 |
| 申请日 | 2018-05-30 |
| 授权公布号 | CN208346534U |
| 授权公告日 | 2019-01-08 |
| 分类号 | D06F81/00 |
| 分类 | 织物等的处理;洗涤;其他类不包括的柔性材料; |
| 申请人名称 | 嘉兴市繁荣家居用品有限公司 |
| 申请人地址 | 浙江省嘉兴市海盐县通元镇核夹公路66号 |
专利法律状态
2019-01-08
授权
状态信息
授权
摘要
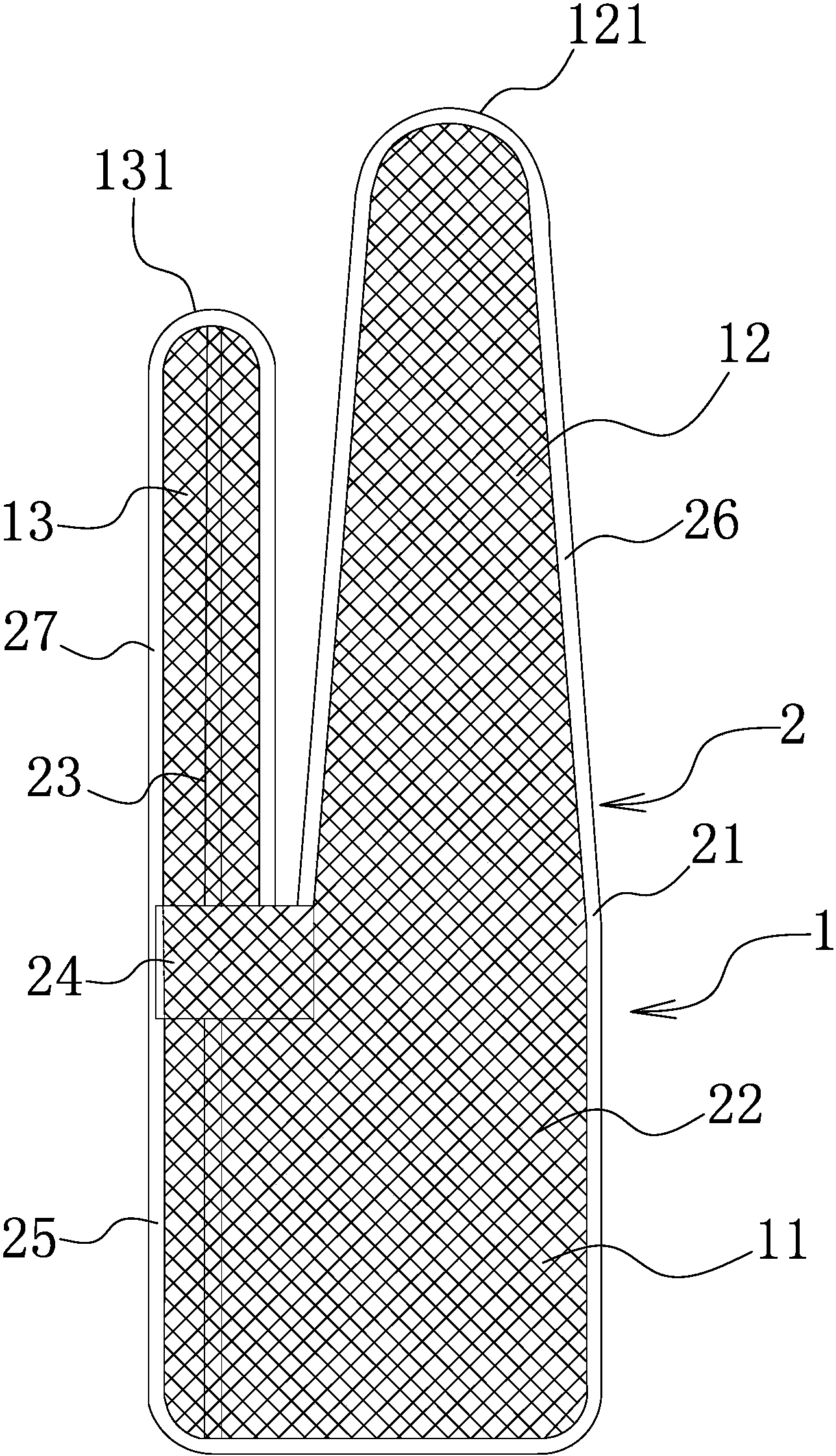
本实用新型涉及一种指型烫衣板。它解决了现有烫衣板设计不够合理的技术问题。包括烫衣板体,烫衣板体具有主板部、延伸部和指状部,烫衣板体包括板体框架,板体框架周向外侧覆设有板面,板体框架周向内侧设有网状体,在板体框架内设有加固杆,板体框架内设有位于延伸部和指状部之间且和加固杆相连的加固板,加固板一侧和板体框架位于周向外侧相连,所述的加固板另一侧与板体框架位于延伸部和指状部端部的部分相连。优点在于:烫衣板的延伸部呈现为裤腿形状,烫衣板的侧边有一板面呈现人体手指形状,根据人体腿部设计符合裤子穿戴方式套入板面,故能将裤子和衣服袖子完全撑开无褶皱无死角,整条裤子更容易烫平。


