授权公布号:CN206330753U
舷外机发动机台架测试台架
有效
申请
2016-11-28
申请公布
1970-01-01
授权
2017-07-14
预估到期
2026-11-28
| 申请号 | CN201621286414.6 |
| 申请日 | 2016-11-28 |
| 授权公布号 | CN206330753U |
| 授权公告日 | 2017-07-14 |
| 分类号 | G01M15/02 |
| 分类 | 测量;测试; |
| 申请人名称 | 杭州海的动力机械股份有限公司 |
| 申请人地址 | 浙江省杭州市余杭区余杭经济技术开发区昌达路126号 |
专利法律状态
2017-07-14
授权
状态信息
授权
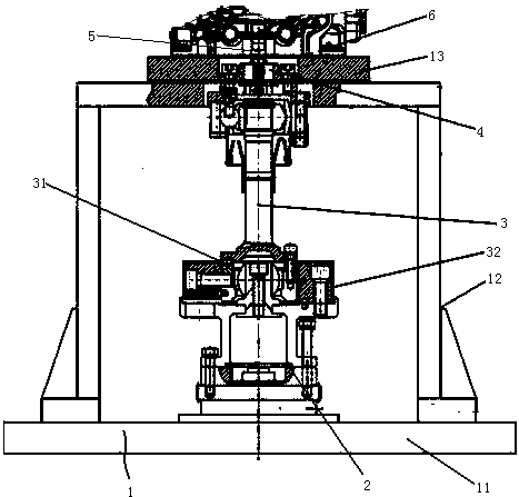
摘要
本实用新型涉及发动机测试工装。一种舷外机发动机台架测试台架,包括测功机、连接法兰和花键连接轴,其特征在于,还包括支撑架、连接法兰和加长轴,所述加长轴的两端都通过向心轴承连接有连接座,所述支撑架设有发动机连接板和测功机连接板,所述花键连接轴的一端设有橡胶表面层且通过橡胶表面层连接在所述连接法兰的一端,所述连接法兰的另一端同所述加长轴的一端上的所述连接座连接在一起,所述加长轴的另一端上的所述连接座同所述测功机连接在一起,所述测功机连接在所述测功机连接板上。本实用新型提供了一种能够有效避免花键连接轴产生断裂现象的舷外机发动机台架测试台架,解决了现有测试结构容易导致花键连接轴发生断裂现象的问题。


