授权公布号:CN217046177U
一种舷外机的工装夹具
有效
申请
2022-02-24
申请公布
1970-01-01
授权
2022-07-26
预估到期
2032-02-24
| 申请号 | CN202220405596.3 |
| 申请日 | 2022-02-24 |
| 授权公布号 | CN217046177U |
| 授权公告日 | 2022-07-26 |
| 分类号 | B25B11/02;B23P21/00 |
| 分类 | 手动工具;轻便机动工具;手动器械的手柄;车间设备;机械手; |
| 申请人名称 | 杭州海的动力机械股份有限公司 |
| 申请人地址 | 浙江省杭州市余杭区余杭经济技术开发区昌达路126号 |
专利法律状态
2022-07-26
授权
状态信息
授权
摘要
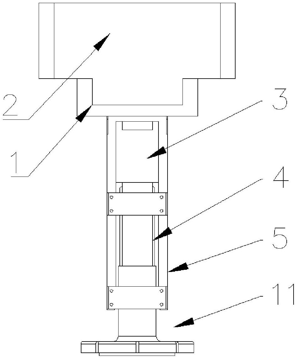
本实用新型公开了一种舷外机的工装夹具,包括:用于安装在半自动流水线上的工装旋转装置;安装在所述工装旋转装置上的高度调整装置;安装在所述高度调整装置上的水平调整装置;安装在所述水平调整装置上的安装板固定槽;以及安装在所述安装板固定槽上舷外机安装板。本实用新型通过工装旋转装置来配合半自动流水线,能够满足更新提高的生产线,显著提高生产线的生产能力。本实用新型的水平调整装置和高度调整装置,不但能满足现有不同机型的要求,对后续开发的大机型舷外机也留有足够的调整空间。


