授权公布号:CN217254200U
一种半自动气门锁夹限位装配装置
有效
申请
2022-01-20
申请公布
1970-01-01
授权
2022-08-23
预估到期
2032-01-20
| 申请号 | CN202220178843.0 |
| 申请日 | 2022-01-20 |
| 授权公布号 | CN217254200U |
| 授权公告日 | 2022-08-23 |
| 分类号 | B23P19/02 |
| 分类 | 机床;不包含在其他类目中的金属加工; |
| 申请人名称 | 杭州海的动力机械股份有限公司 |
| 申请人地址 | 浙江省杭州市余杭区余杭经济技术开发区昌达路126号 |
专利法律状态
2022-08-23
授权
状态信息
授权
摘要
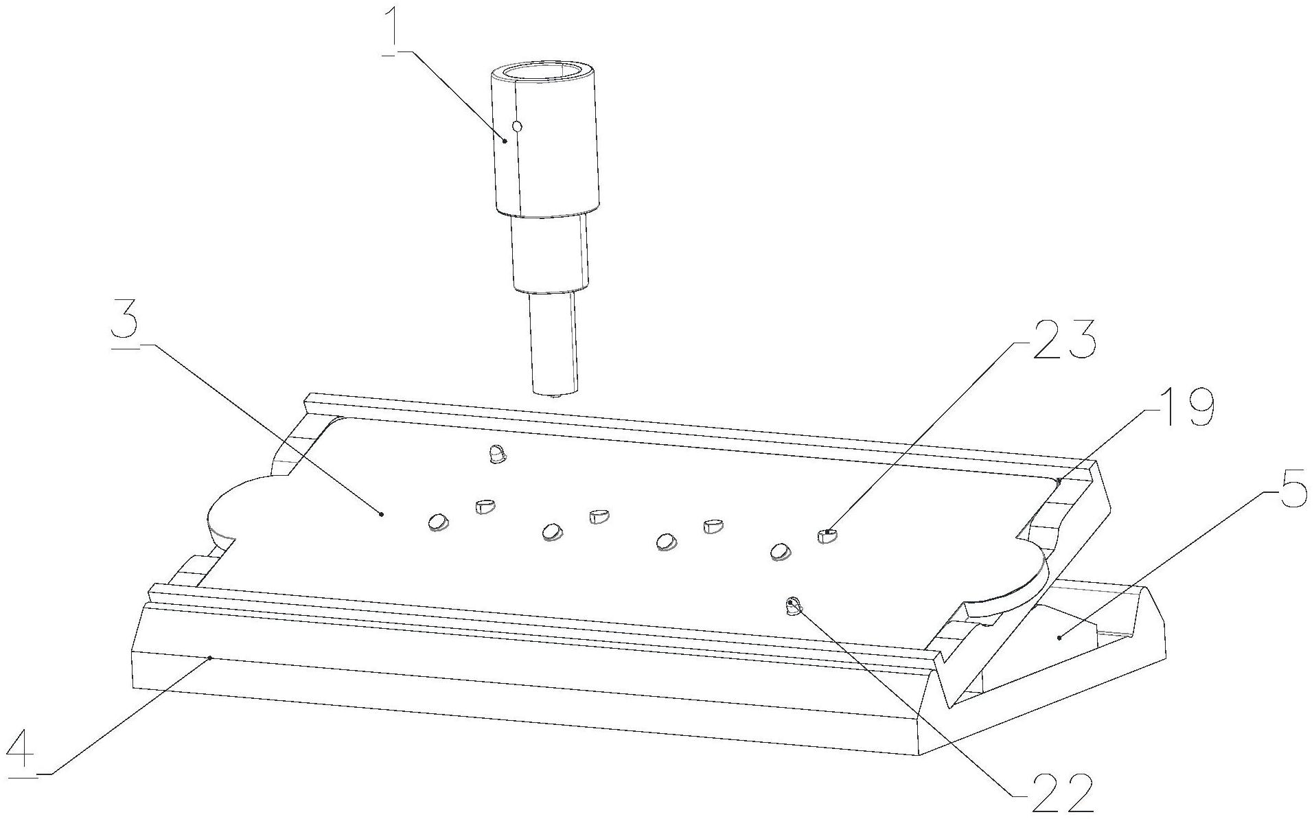
本实用新型公开了一种半自动气门锁夹限位装配装置,包括:底座;设置在所述底座上的角度旋转装置;设置在所述角度旋转装置上的箱体限位装置;与所述箱体限位装置配合的气门锁夹压装装置。本实用新型解决了现有装配技术中存在装配困难、零部件卡滞、效率低等问题。本实用新型通过角度旋转装置实现了工件角度的翻转,避免了人工搬动所造成的磕碰,同时节省体力,提高了生产效率。本实用新型的箱体限位装置,实现了箱体的限位,确保箱体在装配时不会移动,起到了很好的限位。本实用新型的气门锁夹压装装置,实现了气门锁夹的限位、导向,使得装配更加简单、方便、快捷。


