授权公布号:CN207873146U
加工哑铃片的双头车床用工件上料装置
失效
申请
2018-01-31
申请公布
1970-01-01
授权
2018-09-18
预估到期
2028-01-31
| 申请号 | CN201820166208.4 |
| 申请日 | 2018-01-31 |
| 授权公布号 | CN207873146U |
| 授权公告日 | 2018-09-18 |
| 分类号 | B23B13/04 |
| 分类 | 机床;不包含在其他类目中的金属加工; |
| 申请人名称 | 河北恒达健身文化用品集团有限公司 |
| 申请人地址 | 河北省保定市定州经济开发区体品园区恒达路 |
专利法律状态
2024-02-20
专利权的终止
状态信息
未缴年费专利权终止;IPC(主分类):B23B13/04;申请日:20180131;授权公告日:20180918
2018-09-18
授权
状态信息
授权
摘要
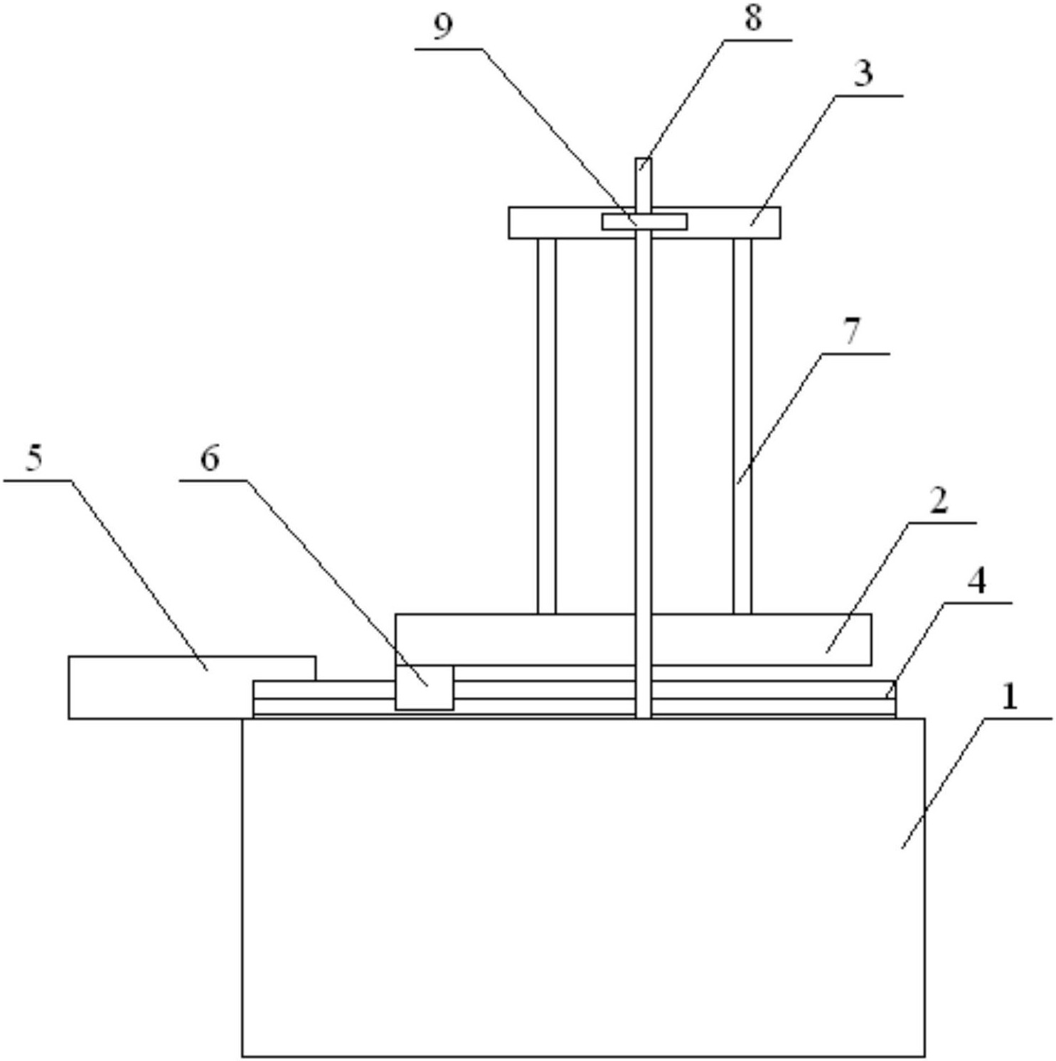
本实用新型公开了一种加工哑铃片的双头车床用工件上料装置,包括机箱,机箱上方设置有沿机箱顶沿水平移动的水平移动托盘以及位于水平移动托盘上方在竖直方向上下运动并用于放置待加工哑铃片的料盘,所述机箱一端设置有驱动水平移动托盘在机箱上运动的气缸,机箱内设置有用于驱动料盘上下运动的驱动机构,机箱上位于水平移动托盘的前后两侧固定设置有用于对料盘上下运动进行导向的第二导向柱,料盘的前后两端分别设置有与第二导向柱滑动配装的抱箍式料盘滑块。本实用新型能够保证作业安全的基础上,方便了机械手进行工件的抓取,简化了机械手的控制方式,提高了工作效率。


