授权公布号:CN214850837U
一种新型的减速电机
有效
申请
2021-02-26
申请公布
1970-01-01
授权
2021-11-23
预估到期
2031-02-26
| 申请号 | CN202120425517.0 |
| 申请日 | 2021-02-26 |
| 授权公布号 | CN214850837U |
| 授权公告日 | 2021-11-23 |
| 分类号 | H02K7/116 |
| 分类 | 发电、变电或配电; |
| 申请人名称 | 广东恒翔电器有限公司 |
| 申请人地址 | 广东省揭阳市揭东经济开发区南片区八号路 |
专利法律状态
2021-11-23
授权
状态信息
授权
摘要
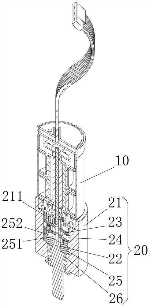
本实用新型公开了一种新型的减速电机,包括有电机部分、减速器部分,减速器部分包括有壳体、输出主轴、第一行星齿轮组、第二行星齿轮组,第一行星齿轮组包括有第一行星架、第一行星轮、输入太阳轮、输出太阳轮、以及用于将第一行星轮固定于第一行星架的限位件,第一行星架设有用于安放第一行星轮的支轴,支轴开有限位盲孔,限位件卡接于限位盲孔,限位件设有若干呈圆周阵列的弹性卡瓣,弹性卡瓣处设有倒勾键,第一行星架设有与倒勾键相配合的限位槽,第一行星架设有用于连接辅装杆的中央连接孔。本实用新型有效地保证了第一行星轮、第二行星轮与壳体的内齿轮之间的啮合精度,极大地提升了整个减速电机的产品质量。


