授权公布号:CN115139099B
铁芯齿间绝缘体一次装配装置
有效
申请
2022-08-02
申请公布
2022-10-04
授权
2023-09-19
预估到期
2042-08-02
| 申请号 | CN202210919746.7 |
| 申请日 | 2022-08-02 |
| 申请公布号 | CN115139099A |
| 申请公布日 | 2022-10-04 |
| 授权公布号 | CN115139099B |
| 授权公告日 | 2023-09-19 |
| 分类号 | B23P21/00 |
| 分类 | 机床;不包含在其他类目中的金属加工; |
| 申请人名称 | 广东恒翔电器有限公司 |
| 申请人地址 | 广东省揭阳市揭东经济开发区南片区八号路 |
专利法律状态
2023-09-19
授权
状态信息
授权
2022-10-25
实质审查的生效
状态信息
实质审查的生效;IPC(主分类):B23P21/00;申请日:20220802
2022-10-04
公布
状态信息
公布
摘要
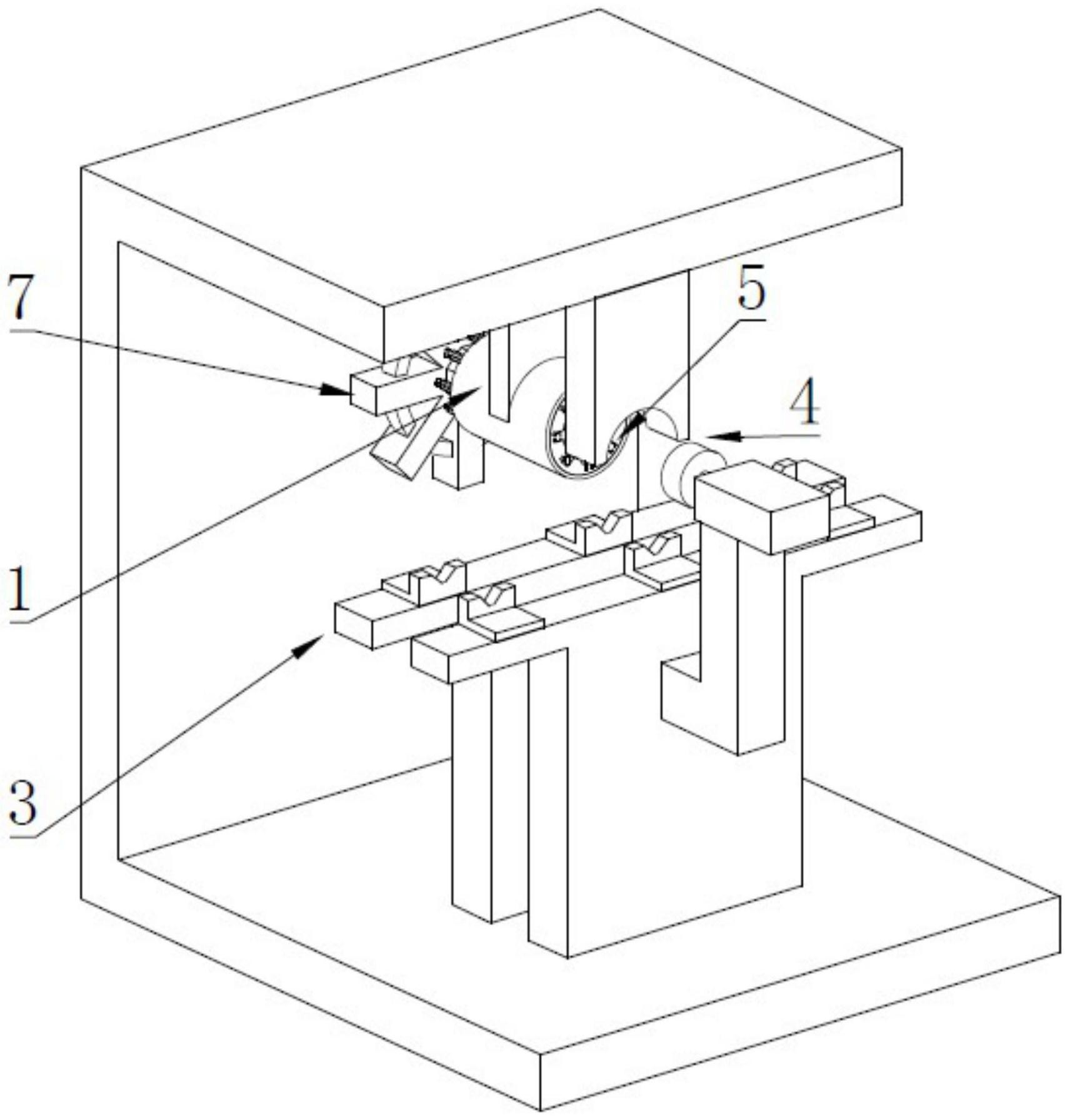
本发明提供了铁芯齿间绝缘体一次装配装置,包括:导向机构,导向机构包括导向套和导向杆;多个导向杆环形阵列并安装在导向套内;齿间绝缘体可滑动卡接在导向杆上;顶推机构,推送导向杆上的齿间绝缘体滑动;运料机构,将转子运输至导向机构下方;及转子定位机构,将运料机构上的转子固定在导向套的一侧,并对转子进行定位。运料机构将转子运输至导向机构下方,然后转子定位机构动作,将转子固定在导向套的一端且与导向套同轴,然后顶推机构动作,顶推机构推动导向杆上的齿尖绝缘体在导向杆上滑动,并将齿尖绝缘体推入转子上的磁钢槽内。通过一次性将多个齿尖绝缘体装配到转子上,能够极大的减少转子的装配时间。


