授权公布号:CN209378843U
一种用于米线加工中的配料搅拌装置
有效
申请
2018-12-26
申请公布
1970-01-01
授权
2019-09-13
预估到期
2028-12-26
| 申请号 | CN201822195159.X |
| 申请日 | 2018-12-26 |
| 授权公布号 | CN209378843U |
| 授权公告日 | 2019-09-13 |
| 分类号 | B01F7/16;B01F15/00 |
| 分类 | 一般的物理或化学的方法或装置; |
| 申请人名称 | 安徽王仁和米线食品有限公司 |
| 申请人地址 | 安徽省合肥市肥西县紫蓬镇工业聚集区 |
专利法律状态
2023-07-07
专利权质押合同登记的生效、变更及注销
状态信息
专利权质押合同登记的生效;IPC(主分类):B01F7/16;登记号:Y2023980045036;登记生效日:20230621;出质人:安徽王仁和米线食品有限公司;质权人:安徽肥西农村商业银行股份有限公司烧脉支行;实用新型名称:一种用于米线加工中的配料搅拌装置;申请日:20181226;授权公告日:20190913
2019-09-13
授权
状态信息
授权
摘要
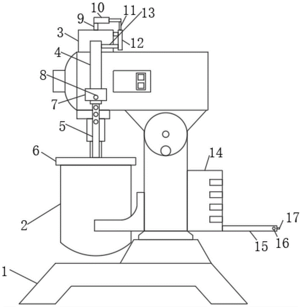
本实用新型公开了一种用于米线加工中的配料搅拌装置,包括搅拌机身及搅拌桶,所述搅拌桶位于搅拌机身的中间位置的左侧位置,所述搅拌机身的上部设置有固定块,所述固定块的前端底部及后端顶部表面分别设置有第一连接杆,所述第一连接杆的一端设置有第一固定柱,所述第一固定柱的底端设置有第一移动柱,所述第一移动柱的底部设置有遮挡盖,所述第一固定柱底端位于第一移动柱上侧位置的外侧设置有固定板;此时前半圆盖及后半圆盖底部均与搅拌桶上表面处于同一平面,拉动连接板将第一连接杆复位,搅拌机工作搅拌配料避免外物杂质进入搅拌桶内部,将数据线放入放置盒内部并环绕在绕线柱外侧避免被踩踏。


