授权公布号:CN220524037U
一种灯具卡扣装置
有效
申请
2023-06-21
申请公布
1970-01-01
授权
2024-02-23
预估到期
2033-06-21
| 申请号 | CN202321608192.5 |
| 申请日 | 2023-06-21 |
| 授权公布号 | CN220524037U |
| 授权公告日 | 2024-02-23 |
| 分类号 | F21V21/35;F21V23/06;F21V17/16 |
| 分类 | 照明; |
| 申请人名称 | 广东三雄极光照明股份有限公司 |
| 申请人地址 | 广东省广州市番禺区石壁街石洲中路240号发现广场1202 |
专利法律状态
2024-02-23
授权
状态信息
授权
摘要
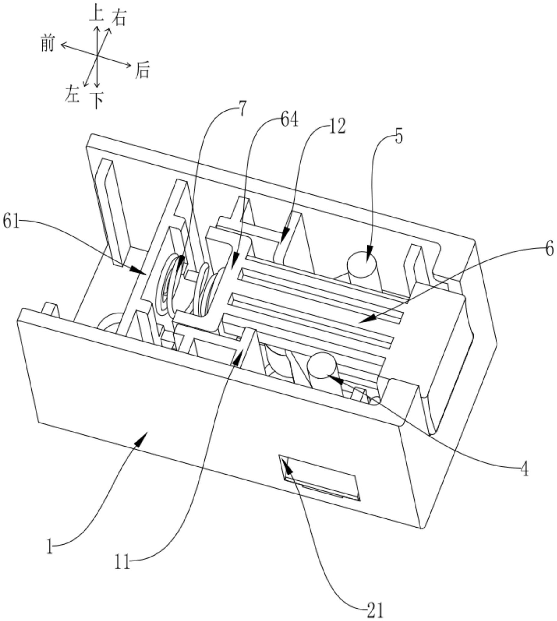
本实用新型公开一种灯具卡扣装置,包括基盒、左滑块、右滑块、左通孔、右通孔、推杆、第一摆臂和第二摆臂,左滑块和右滑块均与基盒沿左右方向滑动连接;左通孔正对于左滑块,右通孔正对于右滑块,第一摆臂设于左滑块的前侧,第二摆臂设于右滑块的前侧,第一摆臂的后部与左滑块转动连接,第二摆臂的后部与右滑块转动连接,推杆与能够相对基盒沿前后方向滑动,第一摆臂的前部与推杆转动连接,第二摆臂的前部与推杆转动连接;灯具卡扣装置还包括与推杆连接的弹性元件,其能够带动推杆向后复位;本实用新型灯具卡扣装置可实现简化导轨灯的卡扣装置,获得结构简单、装拆方便、卡合稳定的灯具卡扣装置。


