授权公布号:CN220287268U
一种散热器后盖组件及使用其的灯具
有效
申请
2023-07-21
申请公布
1970-01-01
授权
2024-01-02
预估到期
2033-07-21
| 申请号 | CN202321944729.5 |
| 申请日 | 2023-07-21 |
| 授权公布号 | CN220287268U |
| 授权公告日 | 2024-01-02 |
| 分类号 | F21V17/10 |
| 分类 | 照明; |
| 申请人名称 | 广东三雄极光照明股份有限公司 |
| 申请人地址 | 广东省广州市番禺区石壁街石洲中路240号发现广场1202 |
专利法律状态
2024-01-02
授权
状态信息
授权
摘要
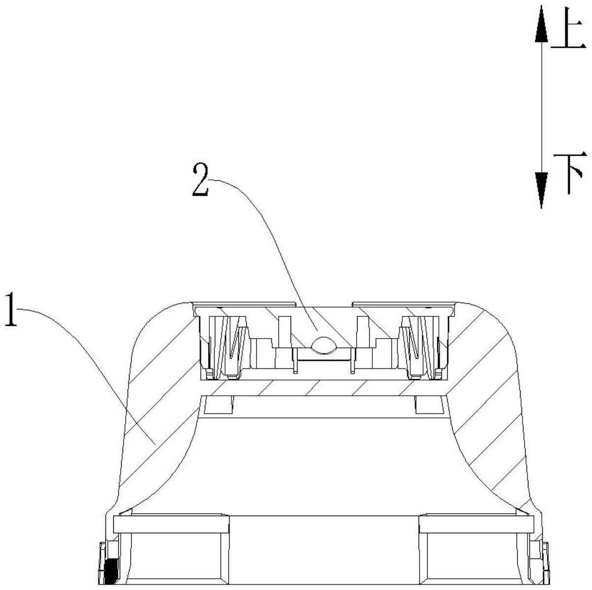
本实用新型涉及灯具技术领域,具体为一种散热器后盖组件及使用其的灯具,包括散热器和后盖:散热器的上端开设有向下凹陷的沉槽,沉槽的内侧壁设有第一扣位,沉槽的底面在第一扣位的正下方开设有插穿孔;后盖的下端面设有向下延伸的第二扣位,后盖在第二扣位至少一侧设有向下延伸的冲柱,后盖盖设在沉槽的开口处,且第二扣位与第一扣位相互扣合。将后盖嵌入沉槽的过程中,第二扣位和冲柱可将第一扣位处的批锋给去除掉,而批锋碎屑会通过插穿孔排出,避免残留。散热器和后盖的设计,使散热器的第一扣位在保留压铸直接成型优势的同时,还能在装配过程中自动有效地处理掉第一扣位处产生的批锋,避免批锋后续脱落到灯具内部、影响灯具正常出光。


