授权公布号:CN112345363B
线缆性能测量设备
有效
申请
2019-08-06
申请公布
2021-02-09
授权
2023-12-19
预估到期
2039-08-06
| 申请号 | CN201910723590.3 |
| 申请日 | 2019-08-06 |
| 申请公布号 | CN112345363A |
| 申请公布日 | 2021-02-09 |
| 授权公布号 | CN112345363B |
| 授权公告日 | 2023-12-19 |
| 分类号 | G01N3/10;G01N3/04;G01N3/02 |
| 分类 | 测量;测试; |
| 申请人名称 | 明门(中国)幼童用品有限公司 |
| 申请人地址 | 广东省东莞市清溪镇银湖工业区明门(中国)幼童用品有限公司 |
专利法律状态
2023-12-19
授权
状态信息
授权
2021-03-02
实质审查的生效
状态信息
实质审查的生效;IPC(主分类):G01N3/10;申请日:20190806
2021-02-09
公布
状态信息
公布
摘要
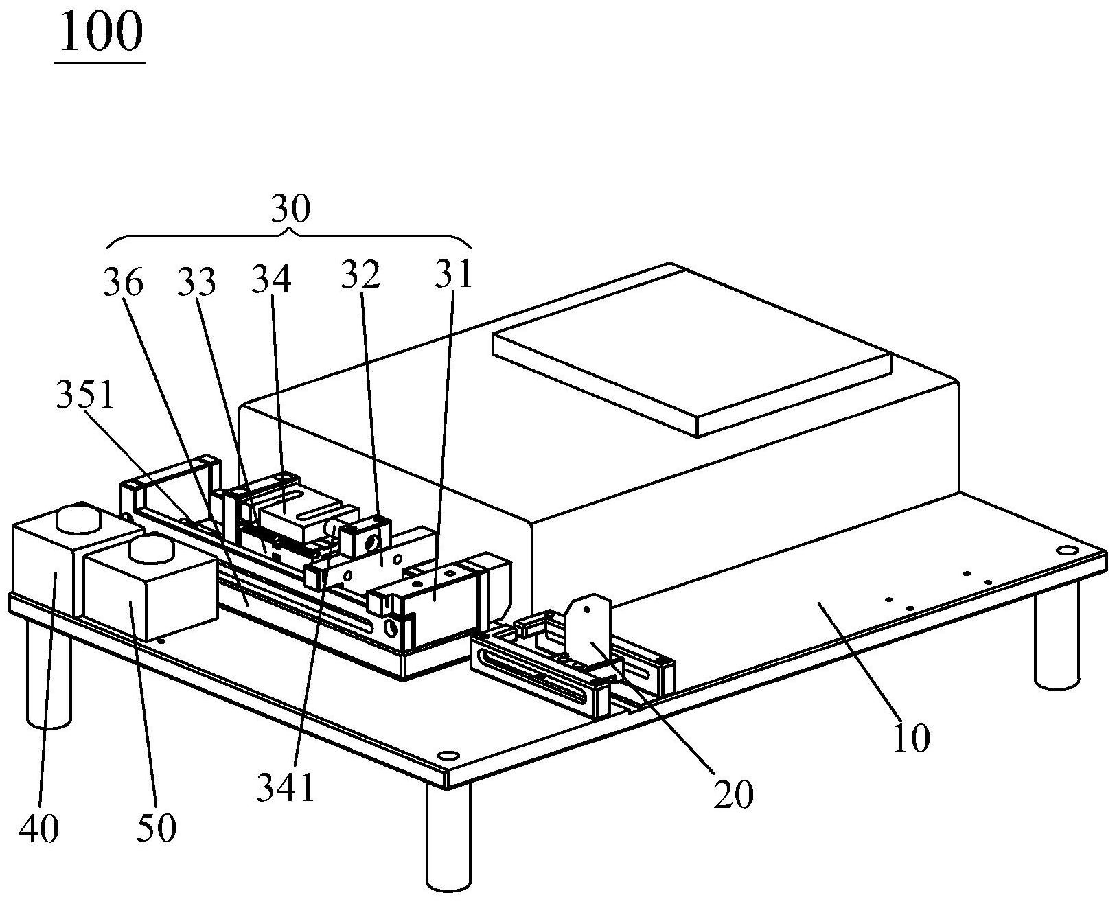
本发明公开了一种线缆性能测量设备,包括机架、安装于机架上的测距装置和拉伸机构,拉伸机构包括第一固定装置、第二固定装置、牵引装置和力传感器,第一固定装置固定于机架上,第二固定装置呈滑动地设置于机架上,测距装置感测第二固定装置于机架上的位置,牵引装置连接于第二固定装置并驱使第二固定装置相对第一固定装置做往复直线的滑动,力传感器分别与第二固定装置和牵引装置连接,力传感器与牵引装置之间电性连接,力传感器感测到第二固定装置与牵引装置之间的作用力等于其内预先设置的参数值时联动牵引装置做停机运动,从而使得牵引装置能及时停机,第二固定装置最后所处的位置与实际停机时所处的位置相同,提高了对线缆性能测量的准确性。


