授权公布号:CN214865819U
一种具有静电除尘功能的纸巾表面处理装置
失效
申请
2021-02-23
申请公布
1970-01-01
授权
2021-11-26
预估到期
2031-02-23
| 申请号 | CN202120393360.8 |
| 申请日 | 2021-02-23 |
| 授权公布号 | CN214865819U |
| 授权公告日 | 2021-11-26 |
| 分类号 | B08B6/00;B08B13/00 |
| 分类 | 清洁; |
| 申请人名称 | 四川蓝漂日用品有限公司 |
| 申请人地址 | 四川省成都市成华区双荆路2号16幢13层1301-1302号 |
专利法律状态
2024-03-12
专利权的终止
状态信息
未缴年费专利权终止;IPC(主分类):B08B6/00;申请日:20210223;授权公告日:20211126
2021-11-26
授权
状态信息
授权
摘要
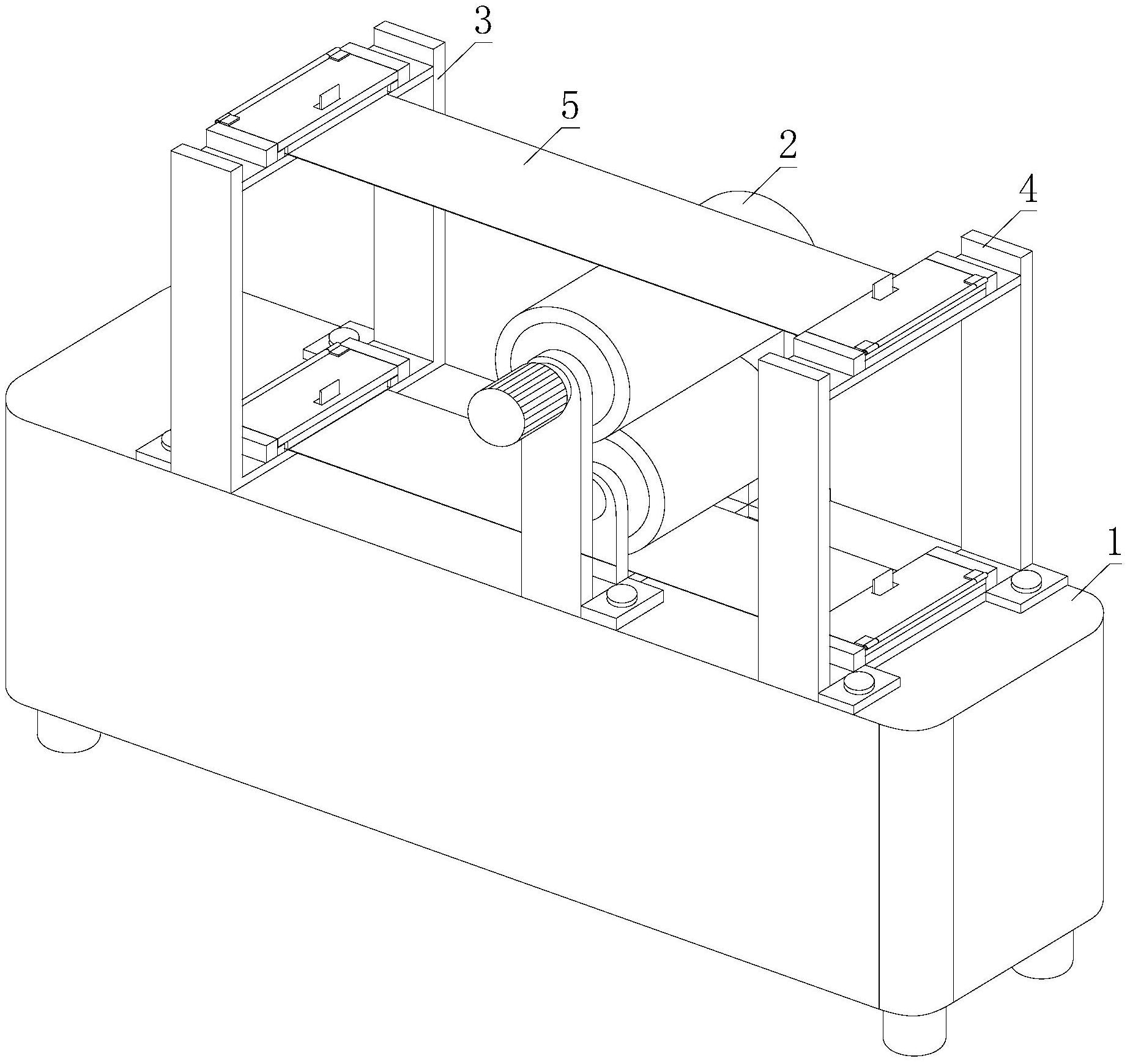
本实用新型公开了一种具有静电除尘功能的纸巾表面处理装置,包括安装底座、除尘组件、第一丝绸架、第二丝绸架和丝绸,除尘组件固定安装在第一丝绸架和第二丝绸架之间,第一丝绸架和第二丝绸架之间固定安装安装有两段丝绸,且丝绸分别设置在除尘组件的上下两端,操作者通过启动电机,电机会带动宽滚轮进行转动,且宽滚轮带动窄滚轮进行转动,宽滚轮和窄滚轮分别与丝绸之间进行摩擦,从而使得宽滚轮和窄滚轮的表面带有静电,操作者通过将纸巾放置在宽滚轮和窄滚轮之间,通过宽滚轮和窄滚轮上的静电,从而可以将纸巾上表面进行吸附除尘处理,操作起来快捷方便,且可以对纸巾进行全面的除尘处理,提升了除尘效率。


