授权公布号:CN216756227U
一种用于锯片生产的混料装置
有效
申请
2021-12-13
申请公布
1970-01-01
授权
2022-06-17
预估到期
2031-12-13
| 申请号 | CN202123128990.1 |
| 申请日 | 2021-12-13 |
| 授权公布号 | CN216756227U |
| 授权公告日 | 2022-06-17 |
| 分类号 | B01F31/60 |
| 分类 | 一般的物理或化学的方法或装置; |
| 申请人名称 | 河北柯能工具有限公司 |
| 申请人地址 | 河北省石家庄市裕华区东京北工农路69号 |
专利法律状态
2022-06-17
授权
状态信息
授权
摘要
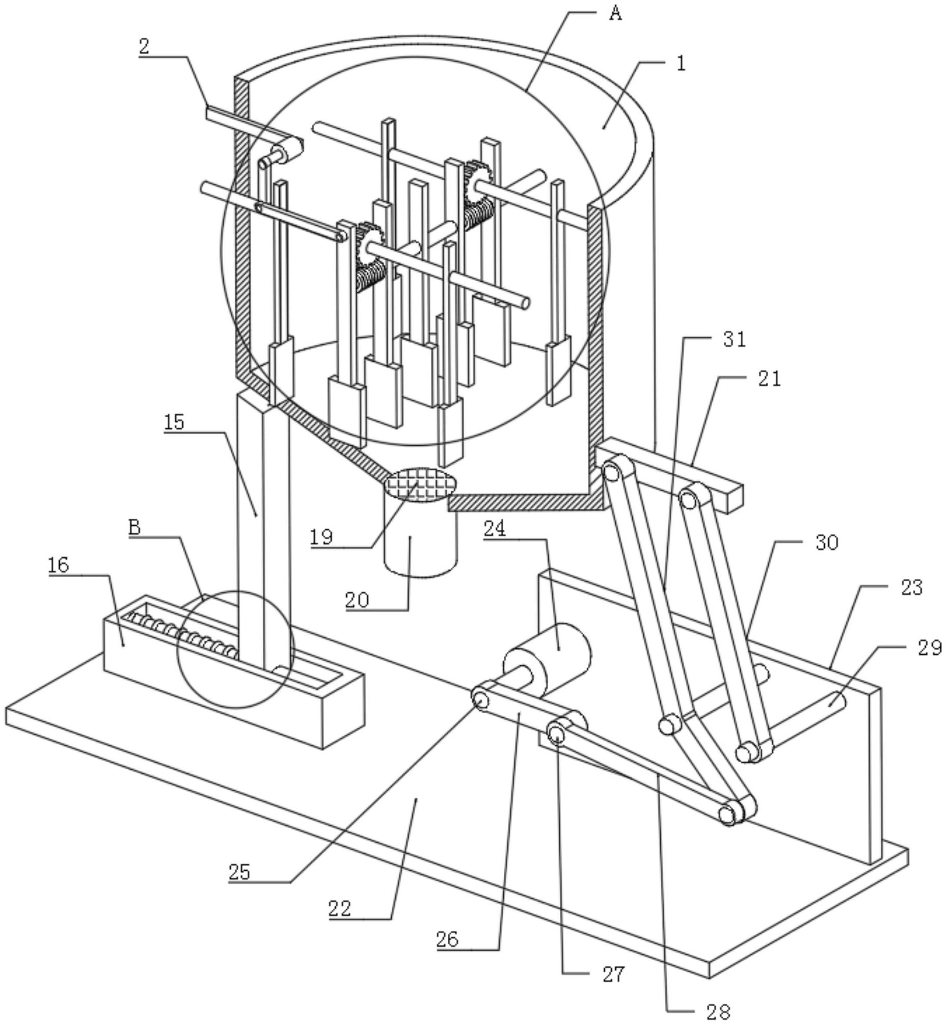
本实用新型涉及锯片生产领域,提出了一种用于锯片生产的混料装置,包括底板,所述底板上端面左侧中部固定连接有滑槽板,所述滑槽板内侧左右端面均固定连接有滑杆,所述滑杆外部滑动连接有支撑柱,所述支撑柱上端面固定连接有混料筒,所述混料筒下端中部设有出料管,所述出料管上端设有电磁阀。通过上述技术方案,解决了现有技术中的混料效果差、下料速度较慢的问题。


