授权公布号:CN217771211U
钓箱转角固定装置
有效
申请
2022-08-12
申请公布
1970-01-01
授权
2022-11-11
预估到期
2032-08-12
| 申请号 | CN202222133260.9 |
| 申请日 | 2022-08-12 |
| 授权公布号 | CN217771211U |
| 授权公告日 | 2022-11-11 |
| 分类号 | A01K97/20;F16B5/00 |
| 分类 | 农业;林业;畜牧业;狩猎;诱捕;捕鱼; |
| 申请人名称 | 金华市美晨商贸有限公司 |
| 申请人地址 | 浙江省金华市婺城区新狮街道环城北路708号3幢1层 |
专利法律状态
2023-08-04
专利实施许可合同备案的生效、变更及注销
状态信息
专利实施许可合同备案的生效;IPC(主分类):A01K 97/20;专利申请号:2022221332609;专利号:ZL2022221332609;合同备案号:X2023330000424;让与人:金华市美晨商贸有限公司;受让人:浙江佳钓尼工贸有限公司;实用新型名称:钓箱转角固定装置;申请日:20220812;授权公告日:20221111;许可种类:普通许可;备案日期:20230719
2022-11-11
授权
状态信息
授权
摘要
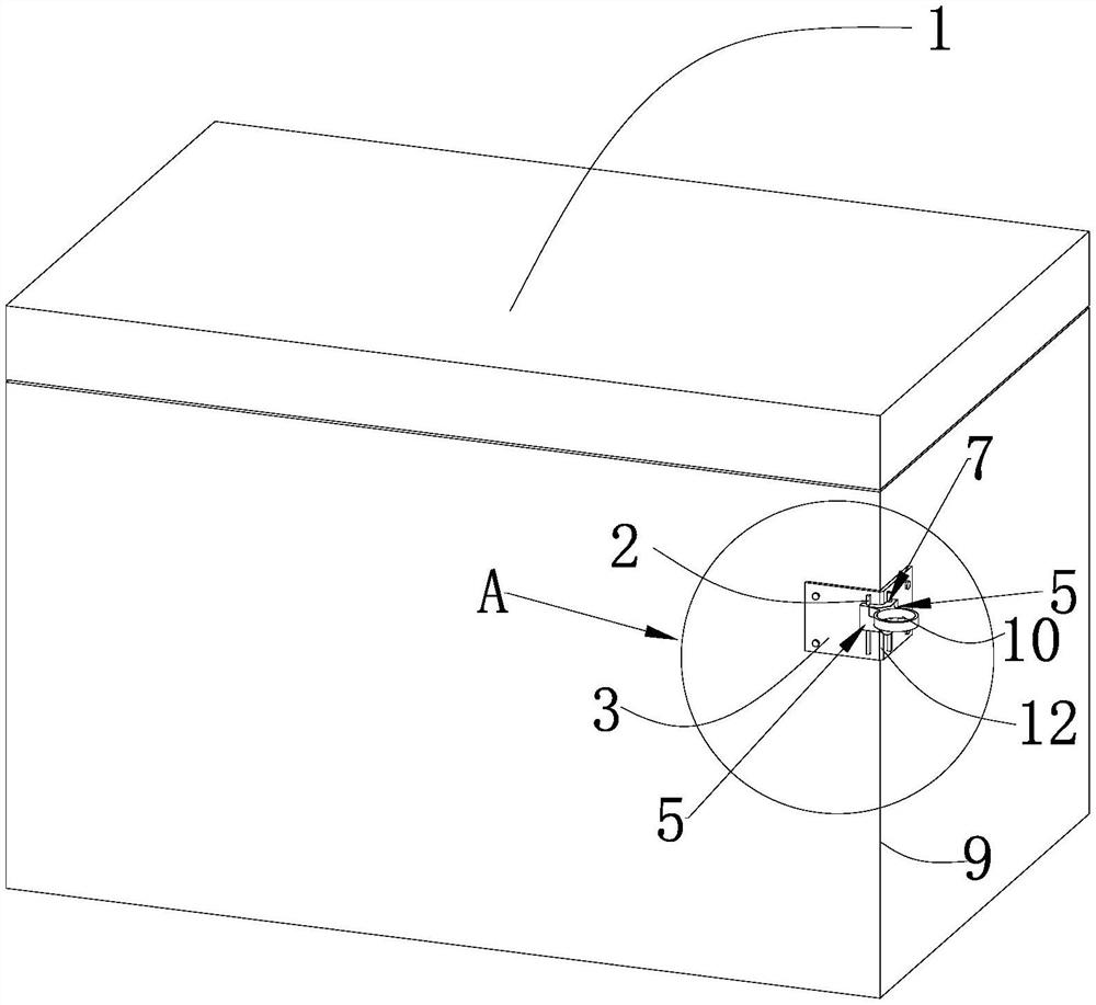
本实用新型提供了一种钓箱转角固定装置,属于钓鱼用具技术领域。它解决了现有钓鱼箱的侧面固定支架会不牢靠等问题,本实用新型包括包括一支架,具有两个呈夹角的连接部,连接部分别连接在钓箱周向四个侧壁的其中两个相邻侧壁上;一连接架,连接在支架上,连接架具有连接渔具的套孔,所述的套孔对应在所述两个相邻侧壁的交汇处。本实用新型通过在箱体相邻侧面交汇部设置滑轨、底座和连接架等结构,两个侧面和交汇处的支撑强度远远大于单个侧面的支撑强度,因此能使得钓鱼箱使用的时间变长,经久耐用。


