授权公布号:CN212509058U
一种改进型气缸结构
有效
申请
2020-05-20
申请公布
1970-01-01
授权
2021-02-09
预估到期
2030-05-20
| 申请号 | CN202020847390.7 |
| 申请日 | 2020-05-20 |
| 授权公布号 | CN212509058U |
| 授权公告日 | 2021-02-09 |
| 分类号 | F15B15/14; |
| 分类 | 流体压力执行机构;一般液压技术和气动技术; |
| 申请人名称 | 神驰气动有限公司 |
| 申请人地址 | 浙江省温州市乐清经济开发区纬六路186号 |
专利法律状态
2021-02-09
授权
状态信息
授权
摘要
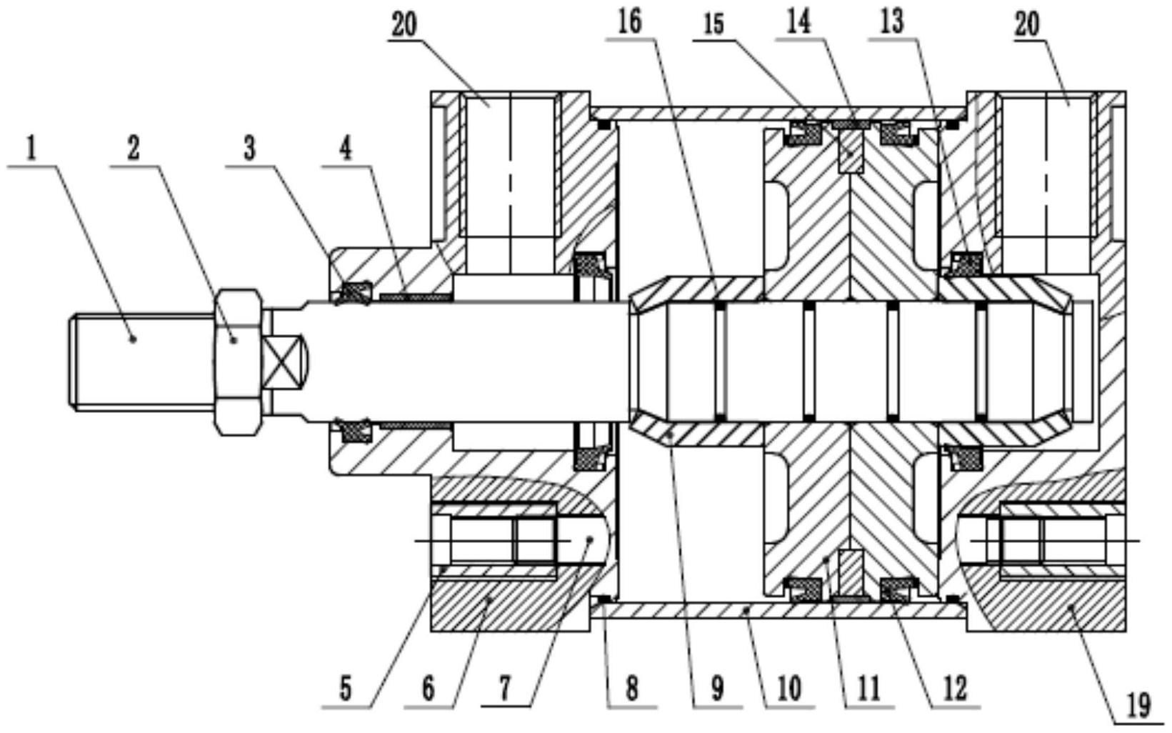
本实用新型公开了一种改进型气缸结构,包括活塞杆、前盖、缸筒、活塞和后盖,所述缸筒的前端面设置有前盖,所述缸筒的后端面设置有后盖,所述缸筒内部设置有活塞,所述活塞杆贯穿而过前盖和缸筒,所述活塞杆与缸筒内部的活塞为一次铆压成型。本实用新型其设计合理,便于设计安装,大大提高了气缸的强度,从而使得提高了活塞与活塞杆同轴度,也避免出现松动现象,提高了设备的使用寿命。


