授权公布号:CN218966171U
一种快拆式光固化3D打印机
有效
申请
2023-01-10
申请公布
1970-01-01
授权
2023-05-05
预估到期
2033-01-10
| 申请号 | CN202320075596.6 |
| 申请日 | 2023-01-10 |
| 授权公布号 | CN218966171U |
| 授权公告日 | 2023-05-05 |
| 分类号 | B29C64/214;B29C64/255;B29C64/232;B33Y30/00 |
| 分类 | 塑料的加工;一般处于塑性状态物质的加工; |
| 申请人名称 | 上海数造机电科技股份有限公司 |
| 申请人地址 | 上海市浦东新区惠南镇沪南公路8666弄11号一层、二层 |
专利法律状态
2023-05-05
授权
状态信息
授权
摘要
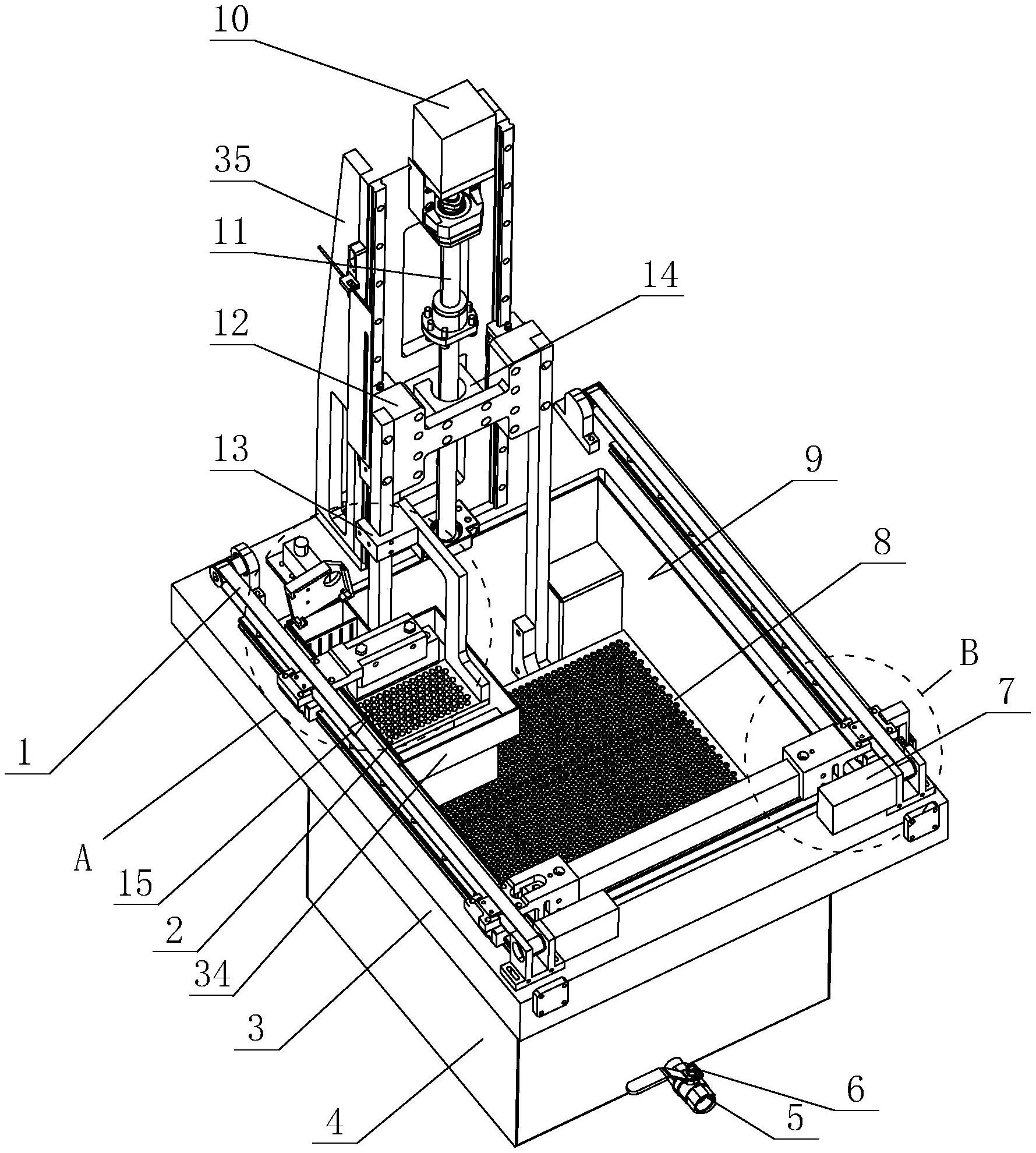
本申请涉及3D打印机的领域,公开了一种快拆式光固化3D打印机,其包括机座,机座上设置有第一料箱,第一料箱内开设有第一料腔,第一料腔内升降设置有第一平台,第一料箱上滑移连接有第一刮刀,机座上部设置有光源,其特征在于:第一料腔内可拆卸设置有第二料箱,第二料箱内开设有第二料腔,第二料腔内升降设置有第二平台,机座上设置有用于驱动第一平台与第二平台升降的第一驱动装置,第二料箱上滑移连接有第二刮刀,机座上设置有用于驱动第一刮刀与第二刮刀进行滑移的第二驱动装置。本申请具有减少料腔内液体树脂的体积,降低制作结构的成本的效果。


