授权公布号:CN212593143U
一种食品加工杀菌设备
有效
申请
2020-04-20
申请公布
1970-01-01
授权
2021-02-26
预估到期
2030-04-20
| 申请号 | CN202020589340.3 |
| 申请日 | 2020-04-20 |
| 授权公布号 | CN212593143U |
| 授权公告日 | 2021-02-26 |
| 分类号 | A61L2/26;F26B21/00;A61L2/10 |
| 分类 | 医学或兽医学;卫生学; |
| 申请人名称 | 益阳味芝元食品有限公司 |
| 申请人地址 | 湖南省益阳市高新区云树路食品工业园 |
专利法律状态
2021-02-26
授权
状态信息
授权
摘要
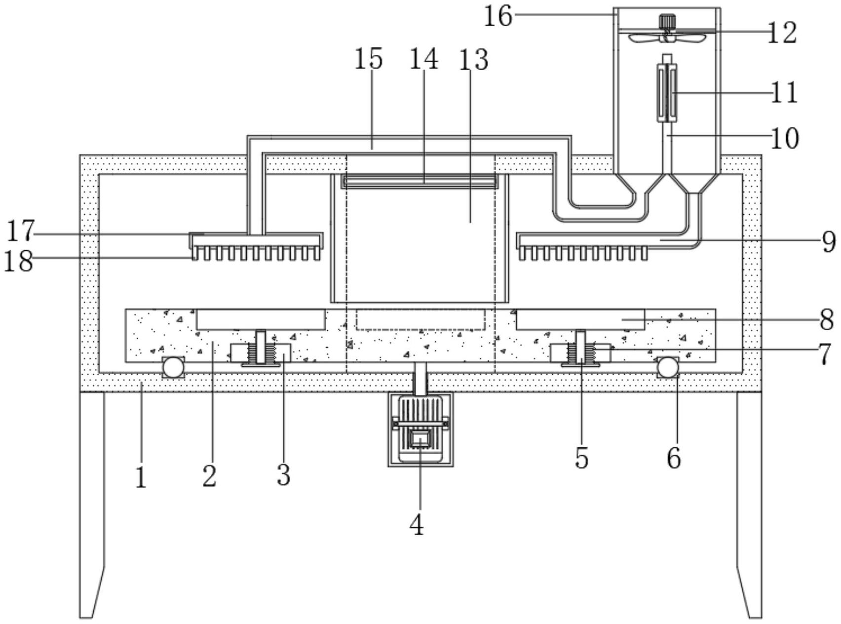
本实用新型公开了一种食品加工杀菌设备,包括底部外壁四角焊接有支腿的固定外罩,所述固定外罩的内底部设置有转动台,且转动台的底端圆心处固定连接有减速电机,所述固定外罩的顶部外壁一端焊接有风筒,且风筒的中端焊接有开有安装口的安装隔板,所述安装口的内壁通过螺钉固定有半导体制冷器,且风筒的顶端内壁通过螺栓固定有鼓风机,所述风筒的底端两侧分别固定连接有热风管以及冷却管。本实用新型通过设置的热风管以及紫外线杀菌灯,便于对食品加工器具进行高温干燥杀菌以及紫外线杀菌处理;通过设置的冷却管,便于在杀菌完成后,相适食品器具吹出冷风进行快速冷却处理,防止操作人员取料时出现烫伤情况。


