授权公布号:CN209501457U
一种食品加工用清洗搅拌机
有效
申请
2018-12-19
申请公布
1970-01-01
授权
2019-10-18
预估到期
2028-12-19
| 申请号 | CN201822128954.7 |
| 申请日 | 2018-12-19 |
| 授权公布号 | CN209501457U |
| 授权公告日 | 2019-10-18 |
| 分类号 | B01F7/18;B01F15/00 |
| 分类 | 一般的物理或化学的方法或装置; |
| 申请人名称 | 益阳味芝元食品有限公司 |
| 申请人地址 | 湖南省益阳市高新区云树路食品工业园 |
专利法律状态
2019-10-18
授权
状态信息
授权
摘要
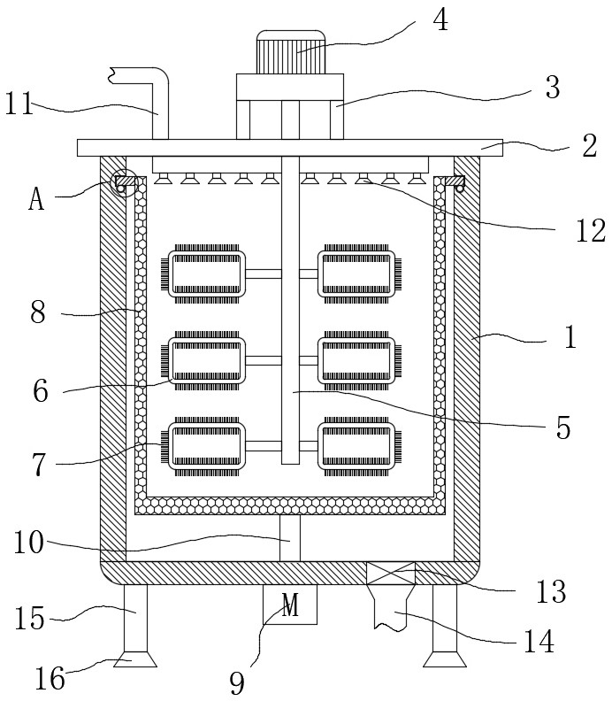
本实用新型公开了一种食品加工用清洗搅拌机,包括搅拌桶,所述搅拌桶上固定连接有盖体,所述盖体上固定连接有支架,所述支架内固定连接有第一电机,所述第一电机的输出端固定连接有搅拌轴,所述搅拌轴穿过盖体并转动连接在搅拌桶内,所述搅拌轴上设有搅拌清洗装置,所述搅拌桶的底部固定连接有第二电机,所述第二电机的输出端固定连接有转轴,所述转轴的一端穿过搅拌桶的底部并固定连接有滤筒,所述滤筒上设有支撑装置。本实用新型通过第一电机带动搅拌轴转动,从而使得搅拌叶以及清洁刷转动对搅拌桶内的物料进行清洗搅拌,同时第二电机带动转轴转动,从而使得滤筒与搅拌轴反方向转动,从而使得清洁效率更高。


