授权公布号:CN212595193U
一种食品加工用原料混合装置
有效
申请
2020-05-12
申请公布
1970-01-01
授权
2021-02-26
预估到期
2030-05-12
| 申请号 | CN202020779923.2 |
| 申请日 | 2020-05-12 |
| 授权公布号 | CN212595193U |
| 授权公告日 | 2021-02-26 |
| 分类号 | B01F7/24;B01F15/02;B01F7/18;B01F15/00 |
| 分类 | 一般的物理或化学的方法或装置; |
| 申请人名称 | 益阳味芝元食品有限公司 |
| 申请人地址 | 湖南省益阳市高新区云树路食品工业园 |
专利法律状态
2021-02-26
授权
状态信息
授权
摘要
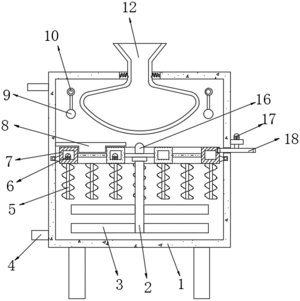
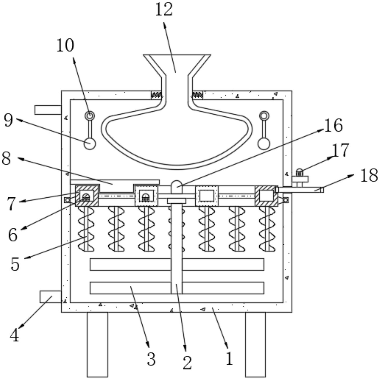
本实用新型公开了一种食品加工用原料混合装置,包括桶体,所述桶体一侧外壁的顶部插接有进水管,所述桶体的顶部外壁开设有穿孔,且穿孔的圆周内壁通过弹簧连接有上料槽,上料槽的底部内壁开设有均匀分布的筛孔,所述桶体两侧内壁的顶部均通过轴承连接有安装轴,且两个安装轴的圆周处均设有敲击杆,所述桶体圆周内壁的中间位置开设有滑槽。本实用新型通过进水管将液态原料注入桶体内,将粉状原料倒入上料槽内,通过安装轴带动敲击杆转动对上料槽的两侧外壁进行往复敲击,使得粉状原料从上料槽的底部筛分至桶体内,保证粉料上料的均匀,提高原料混合的效率,可通过第二搅拌电机带动搅拌桨转动对桶体内原料进行搅拌混合。


