授权公布号:CN209510682U
一种食品加工用循环换气的负压式风机
有效
申请
2018-12-19
申请公布
1970-01-01
授权
2019-10-18
预估到期
2028-12-19
| 申请号 | CN201822133856.2 |
| 申请日 | 2018-12-19 |
| 授权公布号 | CN209510682U |
| 授权公告日 | 2019-10-18 |
| 分类号 | F04D25/08;F04D29/70 |
| 分类 | 液体变容式机械;液体泵或弹性流体泵; |
| 申请人名称 | 益阳味芝元食品有限公司 |
| 申请人地址 | 湖南省益阳市高新区云树路食品工业园 |
专利法律状态
2019-10-18
授权
状态信息
授权
摘要
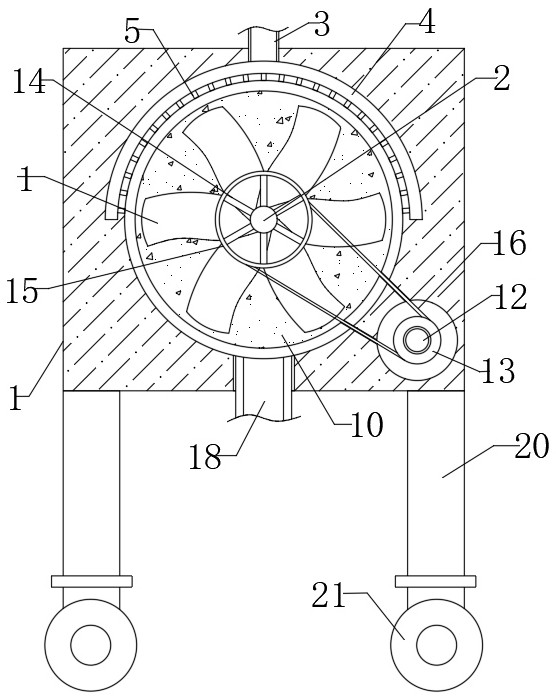
本实用新型公开了一种食品加工用循环换气的负压式风机,包括固定框,所述固定框的外侧壁固定连接有动力机构,所述动力机构通过连接机构连接有第二转轴。本实用新型通过动力机构、连接机构、第二转轴、负压扇叶和限位块的配合作用,这样利用电机带动第一转轴转动,第一转轴通过皮带的作用带动第二转轴转动,从而带动负压扇叶转动进行循环换气,通过第一防尘网、万向轮、第二防尘网、进液管、出水管、出料管和连接板的协同作用,这样利用第一防尘网和第二防尘网将灰尘和杂物隔离在外部,当负压风机不运行时,打开进液管,利用清洗水对第一防尘网进行清洗,废液和灰尘从出料管排出,同时利用万向轮便于操作者搬运负压风机。


