授权公布号:CN212619939U
一种食品风干装置
有效
申请
2020-06-13
申请公布
1970-01-01
授权
2021-02-26
预估到期
2030-06-13
| 申请号 | CN202021085823.6 |
| 申请日 | 2020-06-13 |
| 授权公布号 | CN212619939U |
| 授权公告日 | 2021-02-26 |
| 分类号 | A23L3/40;F26B25/00;F26B21/00;F26B15/18;F26B25/04 |
| 分类 | 干燥; |
| 申请人名称 | 益阳味芝元食品有限公司 |
| 申请人地址 | 湖南省益阳市高新区云树路食品工业园 |
专利法律状态
2021-02-26
授权
状态信息
授权
摘要
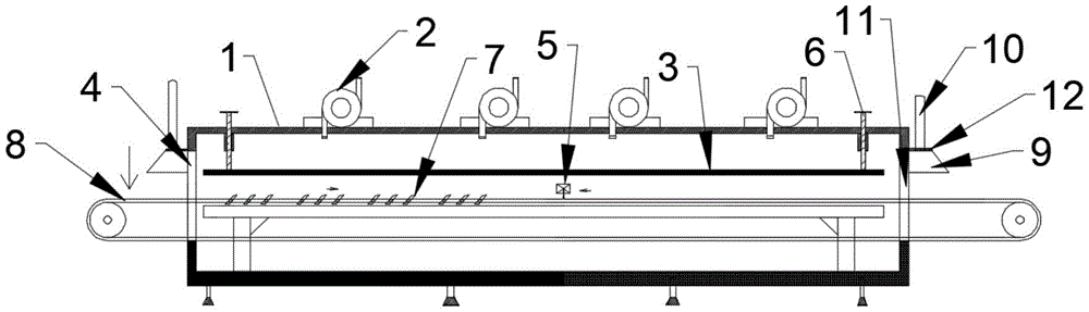
本实用新型适用于风干领域,提供了一种食品风干装置,所述装置包括箱体,所述箱体的两端分别开设有入口和出口,所述罩体的顶部连接有管道,所述罩体的内腔顶部贴近管道处固定连接有轴流风机,所述入口和出口贯穿有传输组件,所述箱体内腔背面中部位置安装有反向装置,本实用新型是为食品风干的设计,相较于现有的风干方式及装置,此装置不受天气及环境的影响,且相较于部分机械风干装置的风干不彻底全面的情况,此装置风干较全面,提高了风干效率,降低了因风干不彻底所产生的不利影响。


