授权公布号:CN211020658U
一种稻田生态种植灭虫装置
有效
申请
2019-09-27
申请公布
1970-01-01
授权
2020-07-17
预估到期
2029-09-27
| 申请号 | CN201921627066.8 |
| 申请日 | 2019-09-27 |
| 授权公布号 | CN211020658U |
| 授权公告日 | 2020-07-17 |
| 分类号 | A01M1/22;A01M1/04;H02S20/30;B02C13/02 |
| 分类 | 农业;林业;畜牧业;狩猎;诱捕;捕鱼; |
| 申请人名称 | 湖南瑶珍粮油有限公司 |
| 申请人地址 | 湖南省永州市江华瑶族自治县沱江镇江华经济开发区瑶都大道 |
专利法律状态
2020-07-17
授权
状态信息
授权
摘要
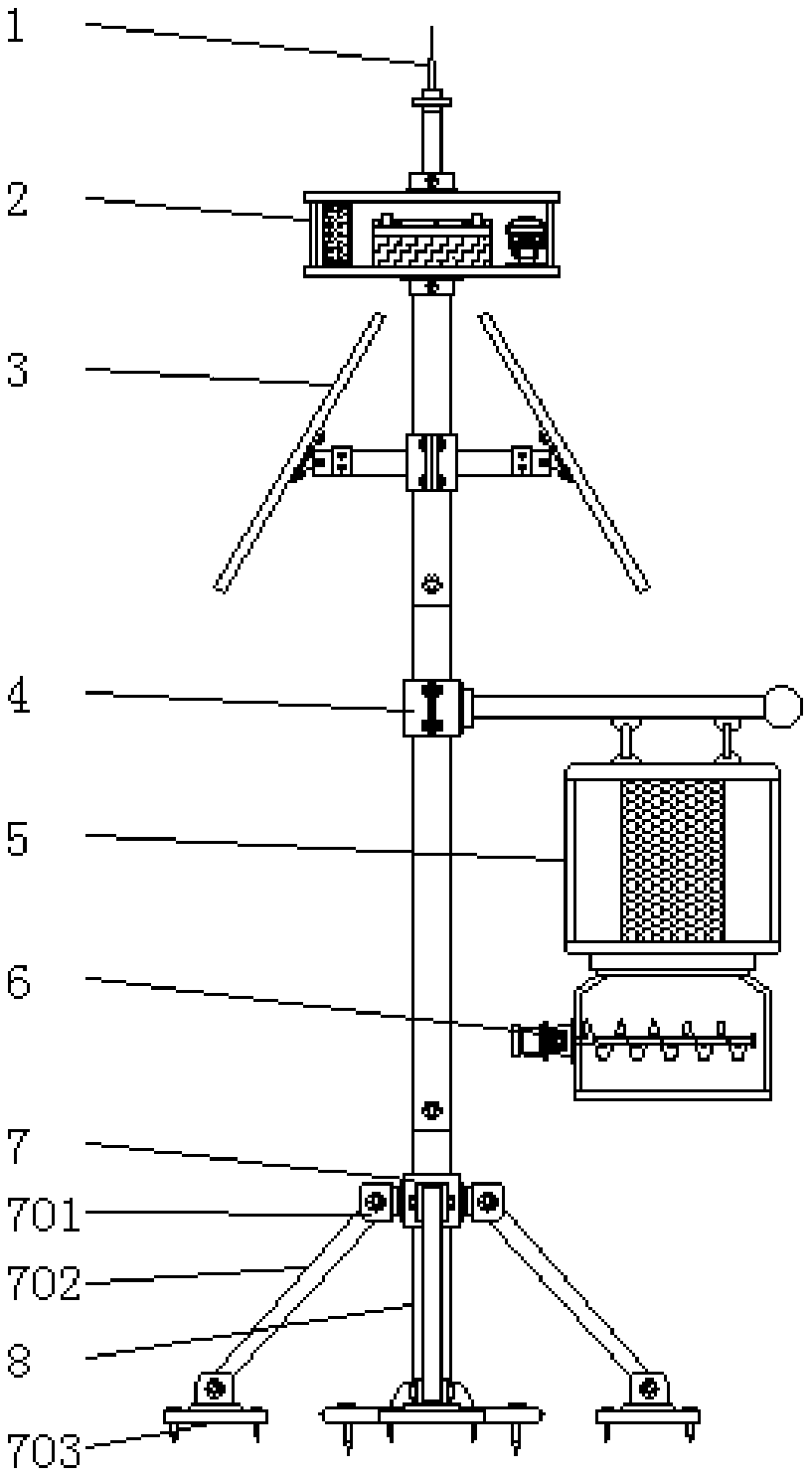
本实用新型公开了一种稻田生态种植灭虫装置,包括灭虫灯、固定架和支撑架,所述支撑架的底部完成通过螺栓安装有固定架,所述固定架的上方通过安装件固定安装有灭虫灯,所述灭虫灯底部的一侧通过螺栓安装有粉碎架,所述安装件的上方通过螺栓安装有太阳能架,所述太阳能架的上方通过螺栓安装有安装台。本实用新型安装有轴架,支撑杆和支撑座,达到了增加装置的稳固性的效果,通过轴架可便于安装支撑杆的同时,也便于调节支撑杆与地面的支撑角度,便于根据安装需要进行支撑角度的调节,同时通过支撑座可将两组支撑杆牢牢地固定在地面,可增加装置的稳固结构,保证了装置的稳固性,提高了装置的抗力性。


