授权公布号:CN217451066U
一种茶叶叶片完整性检测设备
有效
申请
2022-05-30
申请公布
1970-01-01
授权
2022-09-20
预估到期
2032-05-30
| 申请号 | CN202221321262.4 |
| 申请日 | 2022-05-30 |
| 授权公布号 | CN217451066U |
| 授权公告日 | 2022-09-20 |
| 分类号 | B07C5/34;B07C5/36 |
| 分类 | 将固体从固体中分离;分选; |
| 申请人名称 | 四川蒙顶山跃华茶业集团有限公司 |
| 申请人地址 | 四川省雅安市名山区红岩乡红岩新村 |
专利法律状态
2022-09-20
授权
状态信息
授权
摘要
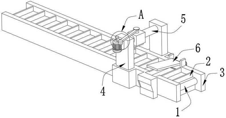
本申请提供了一种茶叶叶片完整性检测设备,包括输送带,所述输送带的表面均匀固定连接有若干个隔板,所述输送带的两侧皆固定连接有挡板,且挡板的外侧皆固定连接有连接柱,所述连接柱的相对设置有检测装置,所述检测装置的前侧设置有筛选装置。通过设置的检测装置,利用伺服电机带动传动条进行旋转,使连接条跟随一端跟随传动条外侧运动轨迹进行运动,从而使传动条拉动检测仪在连接杆上来回移动,有利于快速对输送带表面茶叶叶片进行完整性的快速检测。


