授权公布号:CN217714484U
一种便于携带的起重机遥控装置
有效
申请
2022-07-12
申请公布
1970-01-01
授权
2022-11-01
预估到期
2032-07-12
| 申请号 | CN202221792013.3 |
| 申请日 | 2022-07-12 |
| 授权公布号 | CN217714484U |
| 授权公告日 | 2022-11-01 |
| 分类号 | F16M13/04;B66C13/40 |
| 分类 | 工程元件或部件;为产生和保持机器或设备的有效运行的一般措施;一般绝热; |
| 申请人名称 | 河南予星起重设备有限公司 |
| 申请人地址 | 河南省新乡市长垣市魏庄镇起重工业园区华豫大道132号 |
专利法律状态
2022-11-01
授权
状态信息
授权
摘要
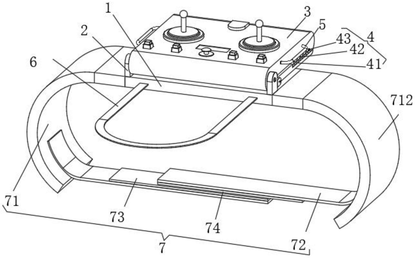
本实用新型公开了一种便于携带的起重机遥控装置,包括连接板、支撑组件、固定组件和限位组件;连接板:其上表面对称设有固定座,两个固定座之间转动连接有遥控器,连接板的内部设有空腔;支撑组件:包括弹性支撑板、盲孔和凸柱,所述弹性支撑板分别转动连接于固定座的后端,两个弹性支撑板的相对内侧面后端均设有凸柱,所述盲孔纵向阵列设置于遥控器的左右两侧面,盲孔与凸柱配合设置;固定组件:插接于空腔的内部;限位组件:滑动连接于连接板的下端,限位组件与固定组件配合设置,该便于携带的起重机遥控装置,能够解放操作人员的双手,减少手臂负重,便于进行操作,携带方式多样,提高了实用性能。


