授权公布号:CN218754655U
一种便于安装的起重机防护栏
有效
申请
2022-10-10
申请公布
1970-01-01
授权
2023-03-28
预估到期
2032-10-10
| 申请号 | CN202222661633.X |
| 申请日 | 2022-10-10 |
| 授权公布号 | CN218754655U |
| 授权公告日 | 2023-03-28 |
| 分类号 | B66C15/00 |
| 分类 | 卷扬;提升;牵引; |
| 申请人名称 | 河南予星起重设备有限公司 |
| 申请人地址 | 河南省新乡市长垣市魏庄镇起重工业园区华豫大道132号 |
专利法律状态
2023-03-28
授权
状态信息
授权
摘要
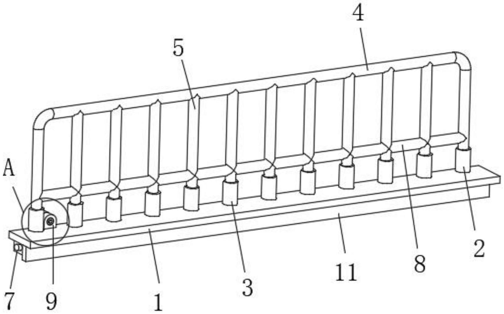
本实用新型公开了一种便于安装的起重机防护栏,包括基板、框架、卡锁机构和控制机构;基板:其上表面左右两端均设有第一套筒,基板的上表面中部设有均匀分布的第二套筒,基板的下表面后侧开设有燕尾滑槽;框架:其左右两端杆体分别插接于第一套筒的内部,框架的顶部杆体中部设有均匀分布的竖杆,竖杆的下端分别与第二套筒插接,竖杆的下端分别穿过基板上表面中部开设的通孔;卡锁机构:设置于基板的下表面左侧,卡锁机构的右端滑动连接于燕尾滑槽的内部,竖杆的下端均与卡锁机构配合设置;该便于安装的起重机防护栏,能够同时对护栏底部多个位置进行卡锁固定,保证护栏与起重机之间连接牢靠。


