授权公布号:CN215947678U
一种床单的无水式除尘除味装置
有效
申请
2021-08-10
申请公布
1970-01-01
授权
2022-03-04
预估到期
2031-08-10
| 申请号 | CN202121860994.6 |
| 申请日 | 2021-08-10 |
| 授权公布号 | CN215947678U |
| 授权公告日 | 2022-03-04 |
| 分类号 | D06G1/00;D06C7/00;B01D53/04 |
| 分类 | 织物等的处理;洗涤;其他类不包括的柔性材料; |
| 申请人名称 | 天津中健国康纳米科技股份有限公司 |
| 申请人地址 | 天津市北辰区宜兴埠镇津围公路东(宜兴埠工业园七街98号健康产业园) |
专利法律状态
2022-03-04
授权
状态信息
授权
摘要
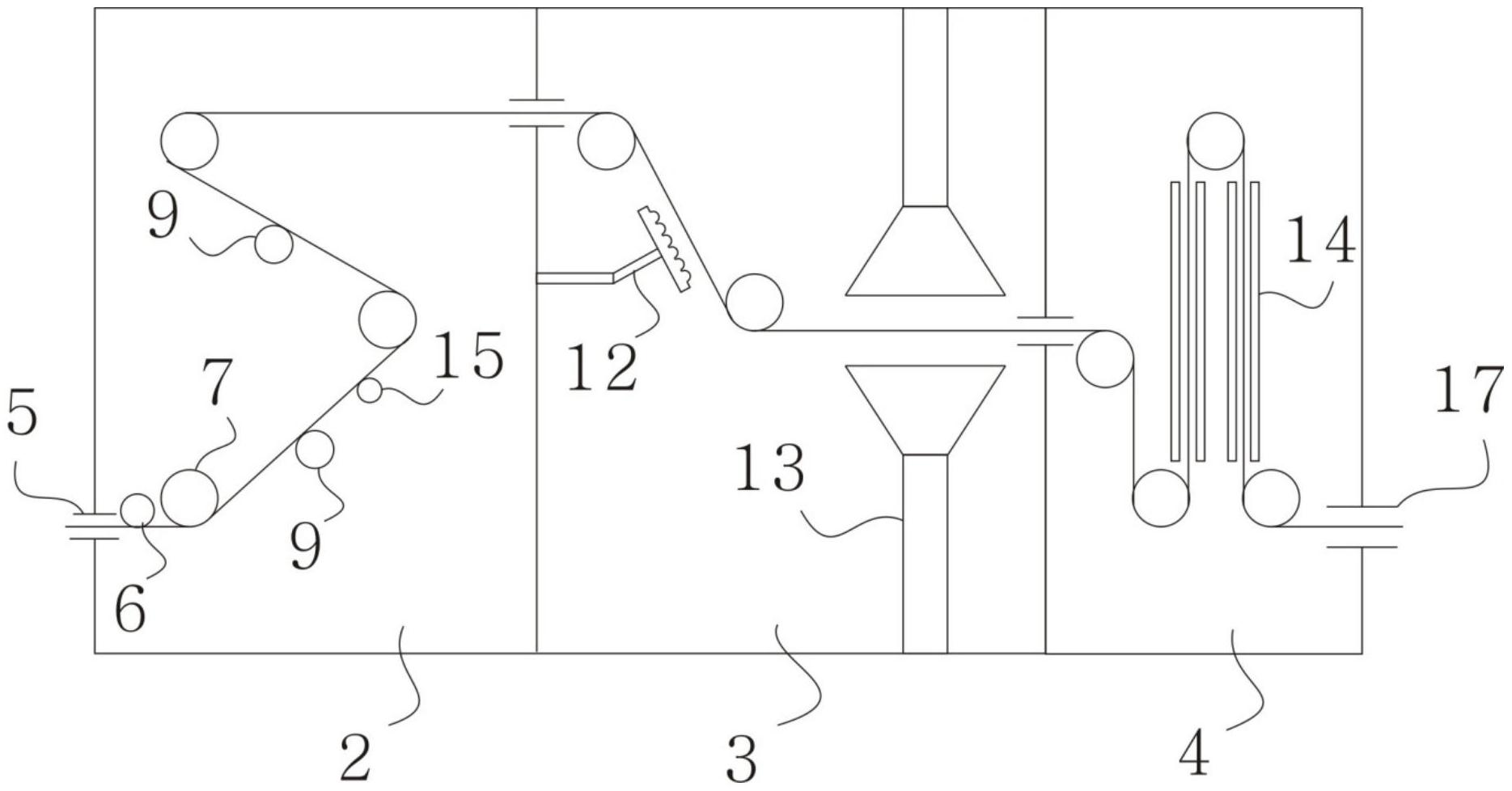
本实用新型提供了一种床单的无水式除尘除味装置,涉及床上用品生产领域,包括外箱体以及分别设于所述外箱体内的除尘仓、第一吸附仓和第二吸附仓,所述除尘仓一侧设有进料口,于所述进料口向传输方向的一侧设有纠偏辊,所述除尘仓内设有数根交错排列的传输辊,所述纠偏辊上设有两块可来回往复移动的限位板,所述传输辊之间设有除尘辊,所述除尘辊包括轴向上的一列由环周设置一圈的吸尘孔组成的吸附单元以及设于所述吸附单元之间的清洁刷,所述清洁刷刷头为圆球状,通过除尘仓对床单实现清洁,代替水洗,节省流程且减少所需的场地面积,通过第一吸附仓和第二吸附仓实现对甲醛等有害气体的吸附,提高消费者的使用体验。


