授权公布号:CN215838693U
一种床垫清洁装置
有效
申请
2021-09-18
申请公布
1970-01-01
授权
2022-02-18
预估到期
2031-09-18
| 申请号 | CN202122337914.5 |
| 申请日 | 2021-09-18 |
| 授权公布号 | CN215838693U |
| 授权公告日 | 2022-02-18 |
| 分类号 | A47L7/00;A47L9/00 |
| 分类 | 家具;家庭用的物品或设备;咖啡磨;香料磨;一般吸尘器; |
| 申请人名称 | 天津中健国康纳米科技股份有限公司 |
| 申请人地址 | 天津市北辰区宜兴埠镇津围公路东(宜兴埠工业园七街98号健康产业园) |
专利法律状态
2022-02-18
授权
状态信息
授权
摘要
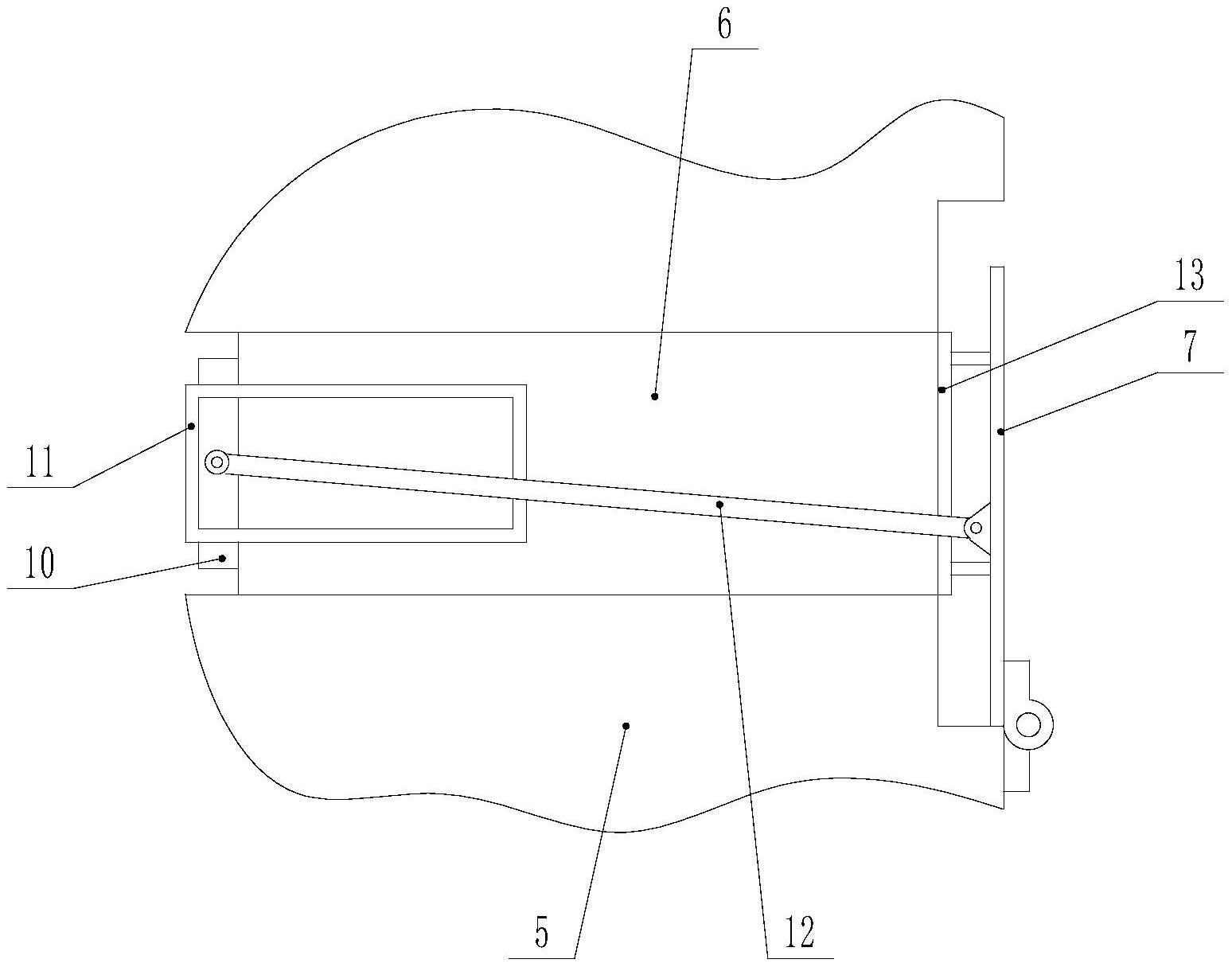
本实用新型涉及床垫加工,尤其涉及一种床垫清洁装置。一种床垫清洁装置,包括平台、吸尘口、风机和过滤装置;所述吸尘口位于平台上方,所述吸尘口通过软管连通风机的进风口,所述风机的出风口连通过滤装置;所述过滤装置包括箱体、滤材、箱盖和推出机构;所述箱体设有内腔、开口、进风口和出风口,所述箱体进风口连通风机的出风口,所述开口位于内腔的一侧;所述箱盖与箱体通过铰链转动连接,所述箱盖封闭开口;所述推出机构包括推板、滑槽和连杆,所述滑槽固定于内腔的侧壁,所述推板与滑槽滑动连接,所述连杆的两端分别通过铰链连接推板和箱盖。本实用新型的有益效果是:提供一种便于更换滤材的床垫清洁装置。


