授权公布号:CN113733176B
薄膜快速裁切装置
有效
申请
2021-08-04
申请公布
2021-12-03
授权
2022-09-16
预估到期
2041-08-04
| 申请号 | CN202110893023.X |
| 申请日 | 2021-08-04 |
| 申请公布号 | CN113733176A |
| 申请公布日 | 2021-12-03 |
| 授权公布号 | CN113733176B |
| 授权公告日 | 2022-09-16 |
| 分类号 | B26D1/06;B26D7/26;B26D7/02 |
| 分类 | 手动切割工具;切割;切断; |
| 申请人名称 | 武汉长盈通光电技术股份有限公司 |
| 申请人地址 | 湖北省武汉市东湖新技术开发区高新五路80号 |
专利法律状态
2022-09-16
授权
状态信息
授权
2021-12-03
公布
状态信息
公布
摘要
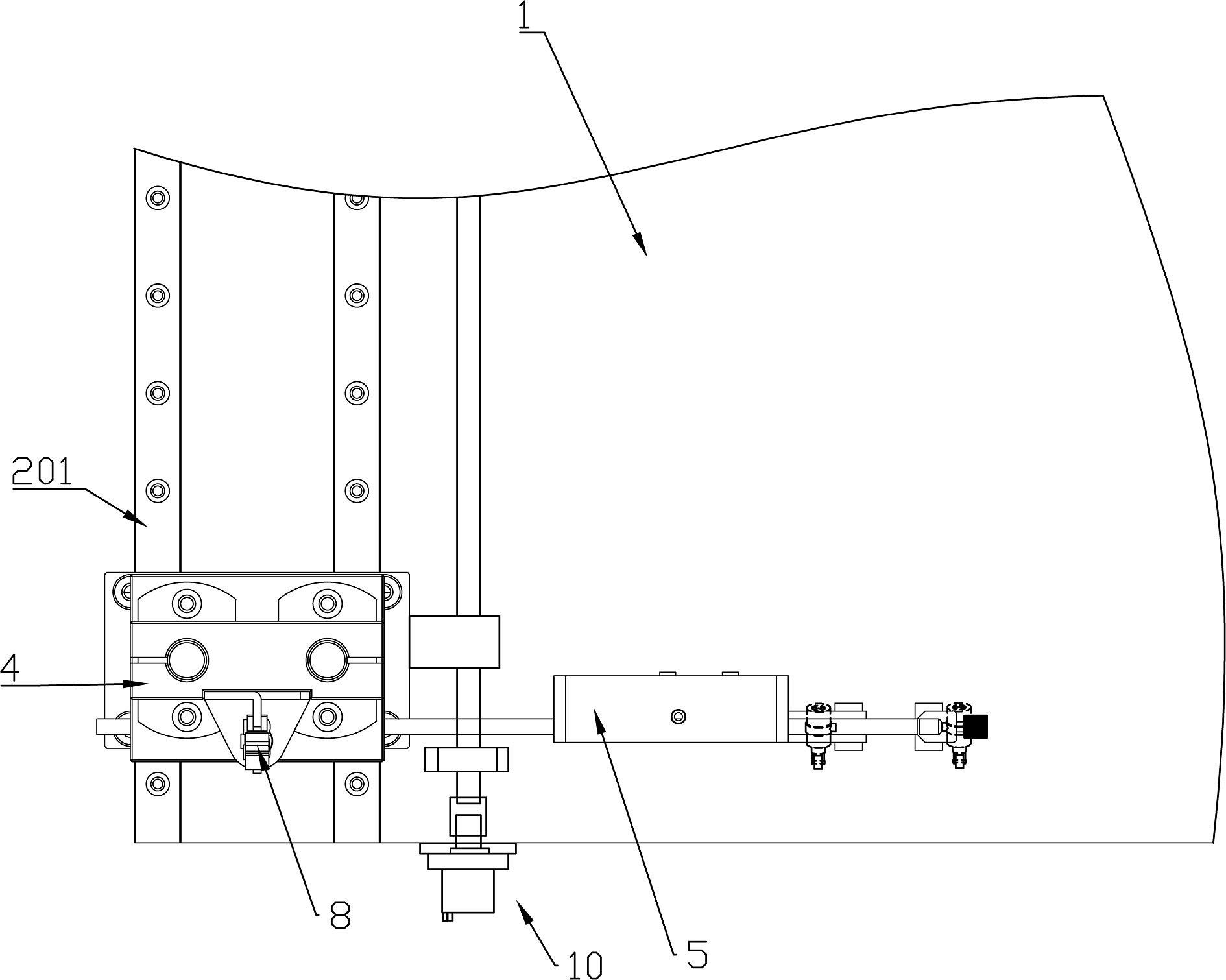
本发明提供一种薄膜快速裁切装置,包括工作台,工作台上设有可沿直线滑动的滑动台,滑动台上方设有连接件,还包括游标卡尺,滑动台通过连接件与游标卡尺的尾端连接,游标卡尺前端设有第一卡爪和第二卡爪,第一卡爪和第二卡爪之间的宽度可调,第一卡爪和第二卡爪下端设有切刀,切刀距工作台的高度可调整;在保证切膜精度的情况下,解决了光纤环生产过程中,薄膜切条宽度快速调节的问题。


