授权公布号:CN215142178U
一种可防破损保护的脐橙分拣设备
失效
申请
2021-02-03
申请公布
1970-01-01
授权
2021-12-14
预估到期
2031-02-03
| 申请号 | CN202120306568.1 |
| 申请日 | 2021-02-03 |
| 授权公布号 | CN215142178U |
| 授权公告日 | 2021-12-14 |
| 分类号 | B07B13/05;B07B13/16;B07B13/14;F26B21/00 |
| 分类 | 将固体从固体中分离;分选; |
| 申请人名称 | 崇义龙润果业有限公司 |
| 申请人地址 | 江西省赣州市崇义县龙勾乡合坪村草城寨 |
专利法律状态
2024-02-09
专利权的终止
状态信息
未缴年费专利权终止;IPC(主分类):B07B 13/05;专利号:ZL2021203065681;申请日:20210203;授权公告日:20211214;终止日期:
2021-12-14
授权
状态信息
授权
摘要
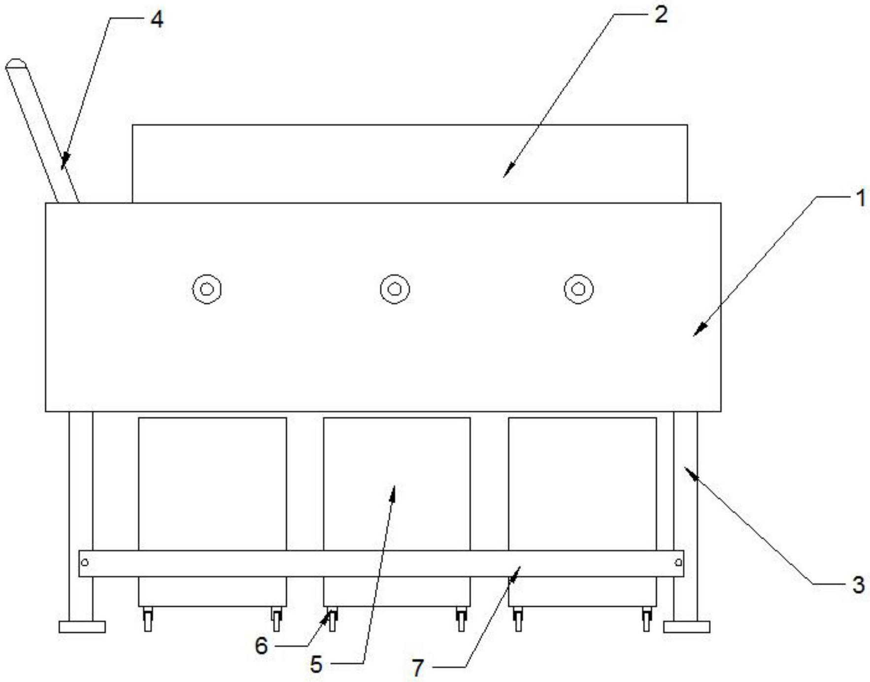
本实用新型公开了一种可防破损保护的脐橙分拣设备,包括脐橙分拣腔,所述脐橙分拣腔的顶部设置有脐橙分拣干燥腔,所述脐橙分拣腔的一端设置有进料支撑板,所述脐橙分拣腔内设置有安装固定板,所述安装固定板的一侧设置有脐橙分拣筒,所述脐橙分拣腔的下方设置有支撑柱,所述支撑柱之间设置有脐橙收集腔;通过进料支撑板将脐橙输入到脐橙分拣腔内,在脐橙分拣腔一侧旋转电机进行驱动,从而带动脐橙分拣筒进行旋转,在脐橙分拣筒外壁的分拣孔可以根据脐橙的大小进行分拣,且在分拣的时候通过脐橙分拣干燥腔进行干燥处理,可以进行输入气体将脐橙外表面的水分进行及时的干燥,可以保证在脐橙分拣的时候保持干燥的效果。


