授权公布号:CN207383397U
一种烧烤穿串盒
有效
申请
2017-09-29
申请公布
1970-01-01
授权
2018-05-22
预估到期
2027-09-29
| 申请号 | CN201721275892.1 |
| 申请日 | 2017-09-29 |
| 授权公布号 | CN207383397U |
| 授权公告日 | 2018-05-22 |
| 分类号 | A22C17/00 |
| 分类 | 屠宰;肉品处理;家禽或鱼的加工; |
| 申请人名称 | 哈尔滨市千橡经贸有限公司 |
| 申请人地址 | 黑龙江省哈尔滨市松北区滨北路2230号 |
专利法律状态
2018-05-22
授权
状态信息
授权
摘要
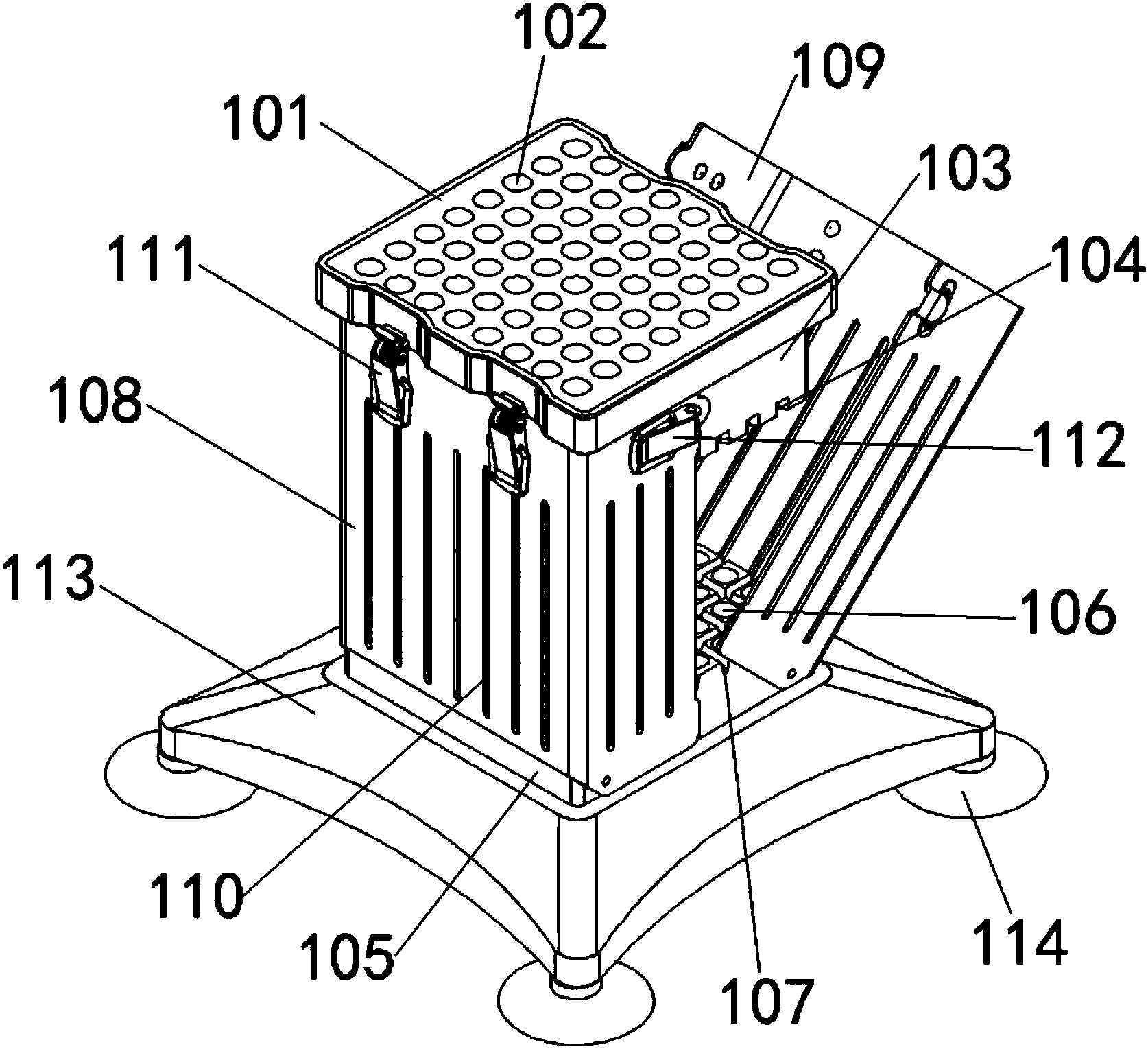
本实用新型涉及一种烧烤穿串盒,包括顶板、底板、底座和侧围板;顶板、底板和侧围板围成一个用于放肉的腔室;侧围板相对的两侧均设置有一一对应的竖直条形口;顶板设置有阵列分布的第一通孔,底板设置有阵列分布的第二通孔,且第一通孔与第二通孔一一对应;侧围板包括对接的第一围板和第二围板,且第一围板和第二围板的底端分别与底板转动连接;第一围板和第二围板的对接端通过第二锁扣件连接;底板设置于底座上。本实用新型通过顶板、底板、第一围板和第二围板围成的腔室,不仅便于烧烤签穿签和切刀切块,避免了纯手工的穿串制作方式;而且,还便于将制作的烤串从腔室内取出;因此,具有操作简单、方便,省时省力,穿串效率高和卫生健康等优点。


