授权公布号:CN218943561U
带UV消毒功能的冲牙器
有效
申请
2022-12-29
申请公布
1970-01-01
授权
2023-05-02
预估到期
2032-12-29
| 申请号 | CN202223587776.7 |
| 申请日 | 2022-12-29 |
| 授权公布号 | CN218943561U |
| 授权公告日 | 2023-05-02 |
| 分类号 | A61C17/02;A61L2/10 |
| 分类 | 医学或兽医学;卫生学; |
| 申请人名称 | 杭州世净科技有限公司 |
| 申请人地址 | 浙江省杭州市西湖区留下街道荆山岭路2号汇峰国际商务中心4号楼D301室 |
专利法律状态
2023-05-02
授权
状态信息
授权
摘要
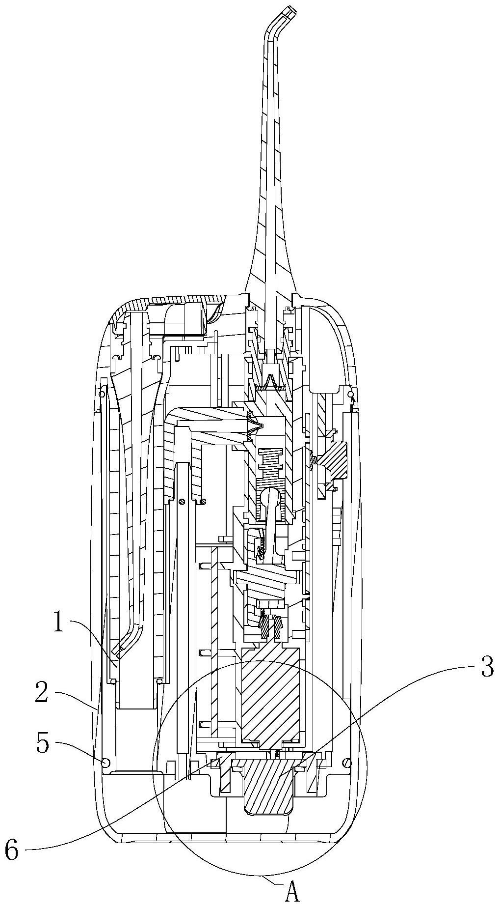
本实用新型涉及冲牙器领域,本实用新型公开了带UV消毒功能的冲牙器,包括:壳体,壳体的下侧设有进水口,壳体的下侧还设有透光口,壳体在透光口的旁侧设有螺孔;消毒灯,消毒灯安装在透光口处且向下伸出透光口,消毒灯上设有穿钉孔;密封件,密封件设在消毒灯与壳体的底壁之间,螺孔处设有螺钉,螺钉穿过穿钉孔后与螺孔螺纹连接,将密封件紧压在壳体上,密封消毒灯与壳体之间的间隙;水箱,水箱沿壳体上下滑动,改变水箱的底壁与消毒灯之间的距离,且水箱与壳体可分离地连接。本带UV消毒功能的冲牙器结构简单且紧凑有效地保证了壳体与消毒灯之间的密封性,能够通过滑动水箱而保证对水箱底壁的消毒效果。


