授权公布号:CN220633661U
一种成人纸尿裤祛味装置
有效
申请
2023-08-11
申请公布
1970-01-01
授权
2024-03-22
预估到期
2033-08-11
| 申请号 | CN202322159229.7 |
| 申请日 | 2023-08-11 |
| 授权公布号 | CN220633661U |
| 授权公告日 | 2024-03-22 |
| 分类号 | B01D53/04;A61F13/496;B65G15/30;B65G49/00;B01D53/66;B01D53/88 |
| 分类 | 一般的物理或化学的方法或装置; |
| 申请人名称 | 泉州市嘉华卫生用品有限公司 |
| 申请人地址 | 福建省泉州市洛江区河市镇浮桥村河市工业区 |
专利法律状态
2024-03-22
授权
状态信息
授权
摘要
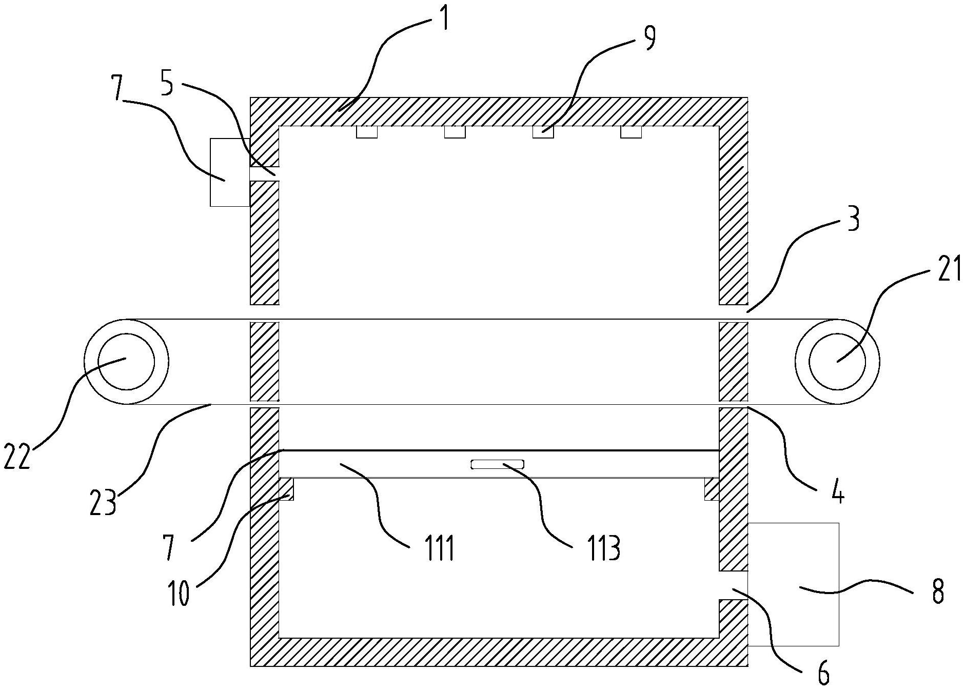
本实用新型涉及一次性卫生用品生产设备技术领域,尤其涉及一种成人纸尿裤祛味装置。一种成人纸尿裤祛味装置,包括主箱体和传送设备;所述传送设备包括驱动轮、从动轮和传送带,所述传送带上均匀开设有若干个透气孔;所述主箱体上开设有进气口、排气口以及安装槽;所述主箱体的外壁上安装有热风机和抽气机,所述热风机的输出端与进气口相连接,所述抽气机的进气端与排气口相连接;所述主箱体的内壁顶部安装有若干紫外线杀菌灯;所述主箱体左、右内侧壁上分别固定连接有水平横板,水平横板上方活动安装有过滤组件。解决了成人纸尿裤生产设备缺少祛味装置,纸尿裤自身存在有异味,造成使用者体验差的问题。


