授权公布号:CN113069354B
热灸仪及热灸仪系统
有效
申请
2021-03-11
申请公布
2021-07-06
授权
2023-03-21
预估到期
2041-03-11
| 申请号 | CN202110267826.4 |
| 申请日 | 2021-03-11 |
| 申请公布号 | CN113069354A |
| 申请公布日 | 2021-07-06 |
| 授权公布号 | CN113069354B |
| 授权公告日 | 2023-03-21 |
| 分类号 | A61F7/00;A61H39/06 |
| 分类 | 医学或兽医学;卫生学; |
| 申请人名称 | 烯旺新材料科技股份有限公司 |
| 申请人地址 | 广东省深圳市龙岗区龙城街道黄阁坑社区龙城工业园3号厂房四层 |
专利法律状态
2023-03-21
授权
状态信息
授权
2021-07-06
公布
状态信息
公布
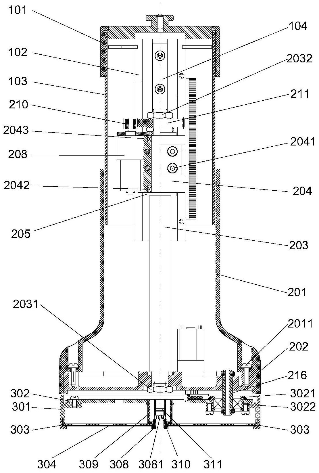
摘要
本公开提供了热灸仪及热灸仪系统。该热灸仪包括热灸探头组件、可实现三个方向运动动作的动作执行组件以及定位组件,动作执行组件通过三个电机及相应的运动机构可分别实现热灸探头组件的轴向伸缩移动、横向摆出移动以及绕轴公转运动,从而可以实现热灸探头组件相对人体灸疗部位接近距离的自动调节以及热灸探头组件做环形绕转灸疗时环绕圆周半径的自动调节。


