授权公布号:CN215459368U
一种强化复合芯体结构的纸尿裤
有效
申请
2021-07-09
申请公布
1970-01-01
授权
2022-01-11
预估到期
2031-07-09
| 申请号 | CN202121565497.3 |
| 申请日 | 2021-07-09 |
| 授权公布号 | CN215459368U |
| 授权公告日 | 2022-01-11 |
| 分类号 | A61F13/496;A61F13/537 |
| 分类 | 医学或兽医学;卫生学; |
| 申请人名称 | 泉州市嘉华卫生用品有限公司 |
| 申请人地址 | 福建省泉州市洛江区河市镇浮桥村河市工业区 |
专利法律状态
2022-01-11
授权
状态信息
授权
摘要
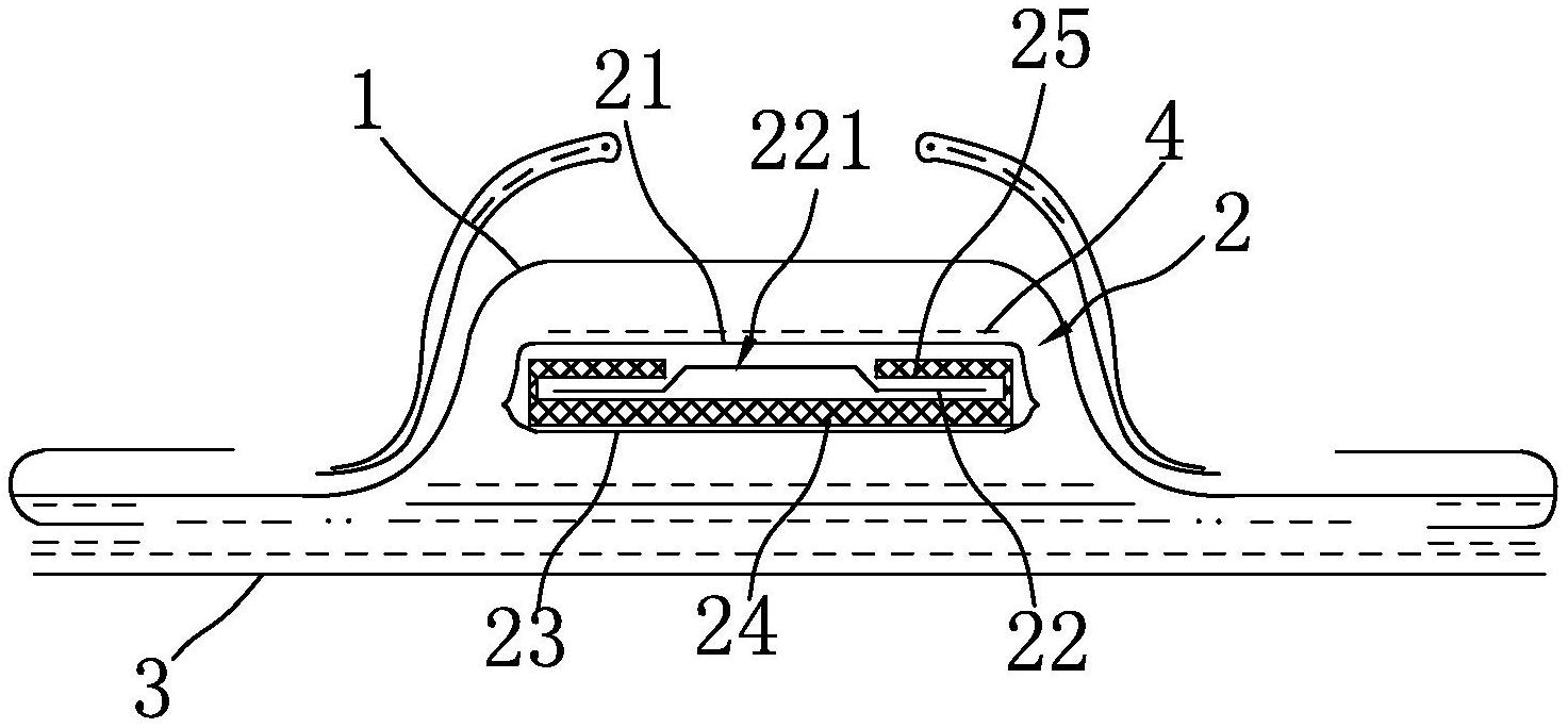
本实用新型涉及卫生用品产品领域,具体涉及一种强化复合芯体结构的纸尿裤,包括纸尿裤本体,所述纸尿裤本体包括层叠设置的透液性表层、吸收芯体以及不透液性底层,所述吸收芯体包括由上至下依次设置的上包覆层、拒水无纺布层、下包覆层,所述下包覆层与所述拒水无纺布层之间设置有下吸收层,所述拒水无纺布层沿所述纸尿裤本体的中心设置有沿其纵向延伸的凸起部,所述凸起部两侧的所述拒水无纺布层均匀开设有若干下渗孔,所述凸起部两侧的所述拒水无纺布层上设置有上吸收层,所述上吸收层与下吸收层延伸至所述拒水无纺布的横向两侧并将其包裹,所述下吸收层的厚度大于所述上吸收层的厚度。本实用新型解决了现有的吸收芯体利用率不足的问题。


