授权公布号:CN218515872U
一种导流下渗效果好的纸尿裤
有效
申请
2022-04-26
申请公布
1970-01-01
授权
2023-02-24
预估到期
2032-04-26
| 申请号 | CN202220983991.X |
| 申请日 | 2022-04-26 |
| 授权公布号 | CN218515872U |
| 授权公告日 | 2023-02-24 |
| 分类号 | A61F13/496;A61F13/537 |
| 分类 | 医学或兽医学;卫生学; |
| 申请人名称 | 泉州市嘉华卫生用品有限公司 |
| 申请人地址 | 福建省泉州市洛江区河市镇浮桥村河市工业区 |
专利法律状态
2023-02-24
授权
状态信息
授权
摘要
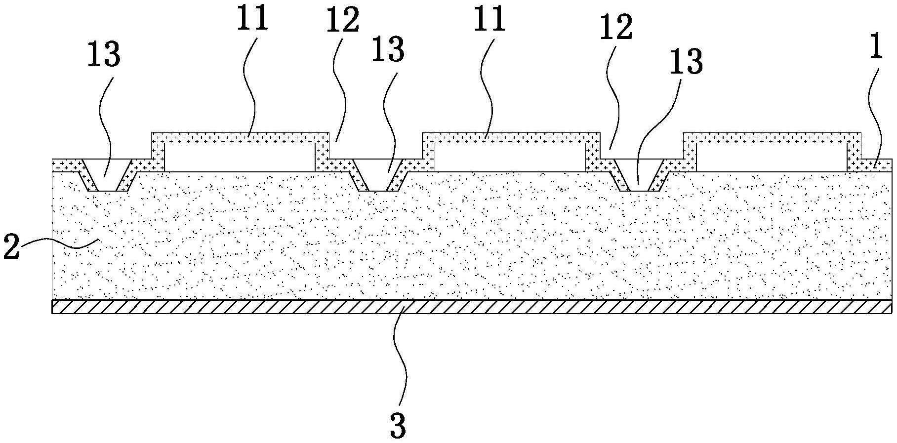
本实用新型涉及一种导流下渗效果好的纸尿裤,包括纸尿裤本体,所述纸尿裤本体包括由上至下依次叠加的透液性面层、高分子吸收层、不透液面层,所述透液性面层向上凸起形成多个凸部,多个凸部之间形成导流槽,所述导流槽设有多个向下凹陷的压孔。本实用新型涉及一次性卫生用品领域,透液性面层向上凸起形成多个凸部,向下凹陷形成多个压孔,使得透液性面层更有层次感,凸部有利于液体导流至导流槽内,导流槽可对液体进行导流,压孔的设置有利于液体的下渗,颗粒状的便便也可通过压孔进入高分子吸收层进行吸收,提高了透液性面层的下渗速度,解决了纸尿裤透液性面层导流和下渗效果差的技术问题。


