授权公布号:CN102313325B
一种洁净工作室
有效
申请
2010-07-01
申请公布
2012-01-11
授权
2014-05-28
预估到期
2030-07-01
| 申请号 | CN201010215784.1 |
| 申请日 | 2010-07-01 |
| 申请公布号 | CN102313325A |
| 申请公布日 | 2012-01-11 |
| 授权公布号 | CN102313325B |
| 授权公告日 | 2014-05-28 |
| 分类号 | F24F3/16;F24F13/28 |
| 分类 | 供热;炉灶;通风; |
| 申请人名称 | 苏州鸿基洁净科技股份有限公司 |
| 申请人地址 | 江苏省苏州市工业园区娄葑创投工业坊15A号厂房 |
专利法律状态
2017-06-27
专利权人的姓名或者名称、地址的变更
状态信息
专利权人的姓名或者名称、地址的变更;IPC(主分类):F24F3/16;变更事项:专利权人;变更前:苏州工业园区鸿基洁净科技有限公司;变更后:苏州鸿基洁净科技股份有限公司;变更事项:地址;变更前:215000 江苏省苏州市苏州工业园区群星一路83号;变更后:215000 江苏省苏州市工业园区娄葑创投工业坊15A号厂房
2014-05-28
授权
状态信息
授权
2012-03-07
实质审查的生效
状态信息
实质审查的生效;IPC(主分类):F24F3/16;申请日:20100701
2012-01-11
公布
状态信息
公布
摘要
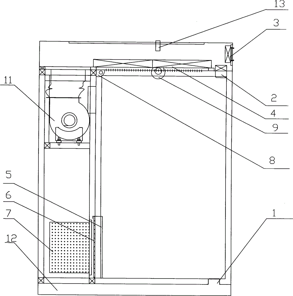
本发明公开了一种洁净工作室,包括:设置在所述洁净工作室入口处下方的吸风口;设置在所述洁净工作室入口处上方的第一送风过滤口,与所述第一送风过滤口相邻的第二送风过滤口,以及设置在洁净工作室内侧的回风过滤口;所述第一送风口上方设置有排风过滤口,所述第一送风过滤口与所述排风过滤口之间形成一空腔;吸风口与所述第一送风过滤口之间产生风压差。通过本发明所公开的一种洁净工作室,使得工作室与外部空气的连接处形成一道风墙,可取代原有的门帘,同时,该洁净工作室既适用于正压环境,也适用于负压环境,具有一定的灵活性和适应性。


