授权公布号:CN217092058U
一种消防车云梯定位装置
有效
申请
2021-09-30
申请公布
1970-01-01
授权
2022-08-02
预估到期
2031-09-30
| 申请号 | CN202122411402.9 |
| 申请日 | 2021-09-30 |
| 授权公布号 | CN217092058U |
| 授权公告日 | 2022-08-02 |
| 分类号 | A63H17/26 |
| 分类 | 运动;游戏;娱乐活动; |
| 申请人名称 | 广东高乐股份有限公司 |
| 申请人地址 | 广东省揭阳市普宁市池尾街道塘边村塘边里东片168号 |
专利法律状态
2022-08-02
授权
状态信息
授权
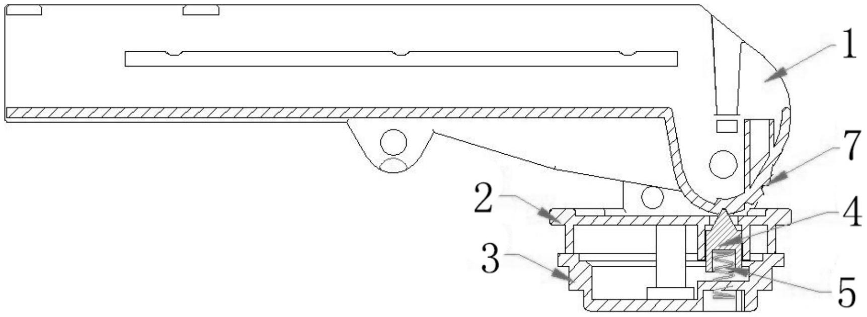
摘要
本实用新型涉及一种消防车云梯定位装置,包括云梯、定位台、车身,所述定位台包括转台、转盘,所述转盘设置在转台下方,所述转盘与转台固定连接,所述定位台与车身连接,所述云梯与转台连接;所述转台设置有定位块,所述定位块下方设置有复位弹簧;所述云梯设置转轴与转台可转动连接,所述转轴表面设置有插槽与所述定位块适配。本实用新型具有较高的可玩性和趣味性,通过云梯转轴设置插槽与转台定位块适配实现云梯上下摆动的定位功能;通过转台下方设置齿轮状转盘,车身设置转盘定位件尖端与转盘齿槽适配,当云梯左右摆动时,转盘随着转动,同时转盘定位件凭借本身弹性以尖端往返、固定转动转盘的齿槽,从而实现云梯左右摆动的定位功能。


