授权公布号:CN213609389U
一种多功能面膜导入仪
有效
申请
2020-05-28
申请公布
1970-01-01
授权
2021-07-06
预估到期
2030-05-28
| 申请号 | CN202020934373.7 |
| 申请日 | 2020-05-28 |
| 授权公布号 | CN213609389U |
| 授权公告日 | 2021-07-06 |
| 分类号 | A61M37/00;A61H23/02;A61N5/06;A61F7/00 |
| 分类 | 医学或兽医学;卫生学; |
| 申请人名称 | 深圳市富恒通科技有限公司 |
| 申请人地址 | 广东省深圳市光明新区公明街道长圳社区第四工业区16号三楼 |
专利法律状态
状态信息
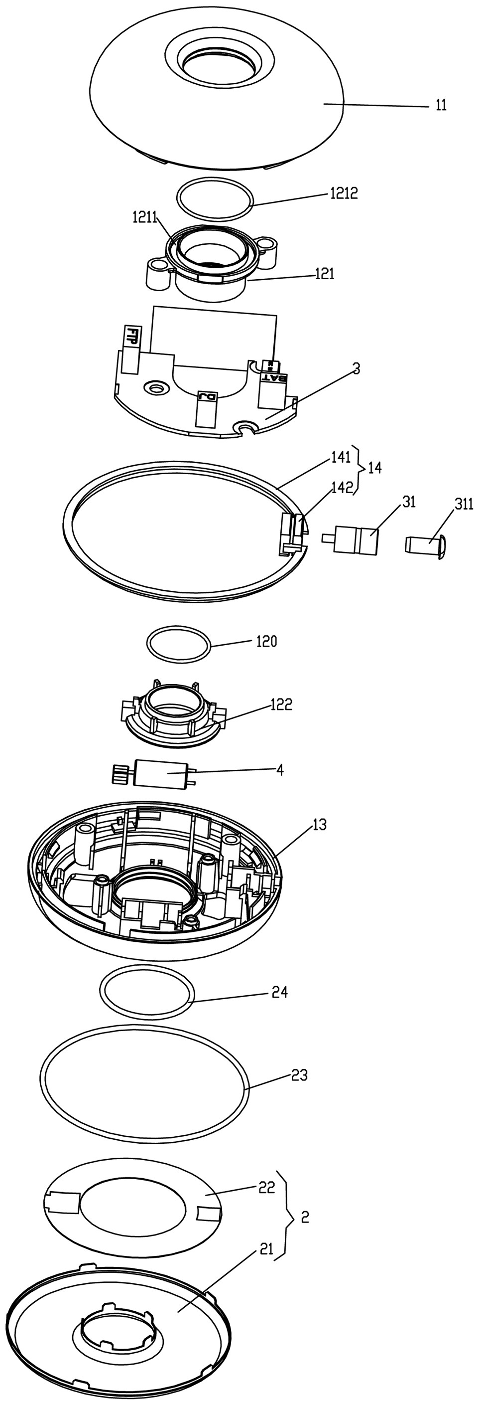
摘要
一种多功能面膜导入仪,涉及美容护理及按摩器具技术领域,解决现有面膜导入仪存在舒适性差,手持操作不便,不能充分提高面膜的护理效果等技术不足;方案为:壳体为圆环形状,发热导入头为与壳体同圆心的圆环片状结构;发热导入头包括有导电外壳和发热片;导电外壳作为触摸感应第一电极,内环壳组件内侧表面设有导电层,导电层连接触摸感应控制组件,导电层作为触摸感应第二电极。操作时,手持方便,舒适性好,提高产品使用体验感。LED灯通过内环透光圈出光,形成中心出光,提升产品科技感,当采用高能量光束LED灯时,能改善皮肤的护理效果。同时提高面膜对皮肤的吸收效果,多方位的对皮肤进行科学的辅助美容护理,增强美容护理的效果。


