授权公布号:CN218784471U
一种一体化颌骨修复体
有效
申请
2022-07-28
申请公布
1970-01-01
授权
2023-04-04
预估到期
2032-07-28
| 申请号 | CN202221974636.2 |
| 申请日 | 2022-07-28 |
| 授权公布号 | CN218784471U |
| 授权公告日 | 2023-04-04 |
| 分类号 | A61F2/28;A61C8/00 |
| 分类 | 医学或兽医学;卫生学; |
| 申请人名称 | 湖北嘉一三维高科股份有限公司 |
| 申请人地址 | 湖北省咸宁市赤壁市赤马港工业园嘉一科技园 |
专利法律状态
2023-04-04
授权
状态信息
授权
摘要
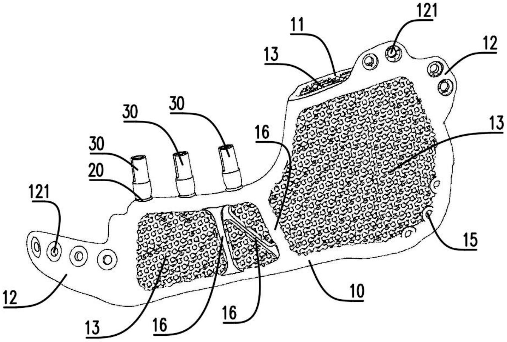
本实用新型公开了一种一体化颌骨修复体,涉及医学修复假体技术领域,包括修复体本体、种植体和种植基台,所述修复体本体设有用于与生理骨残端骨创面结合的下颌残端,所述下颌残端设有与修复体本体一体成型的连接部,所述连接部用于与生理骨连接,所述修复体本体内部设有低密度三维贯通微孔结构,所述低密度三维贯通微孔结构内部设有高密度三维贯通微孔结构,以匹配生理骨的弹性模量,所述种植体固设于修复体本体,并与高密度三维贯通微孔结构固接,以抵御咬合过程中经由种植体传递而来的集中咬合力,所述种植基台与种植体可拆卸式连接。


