授权公布号:CN113894332B
数控机床用刀柄及加工方法
有效
申请
2021-09-22
申请公布
2022-01-07
授权
2023-01-31
预估到期
2041-09-22
| 申请号 | CN202111109886.X |
| 申请日 | 2021-09-22 |
| 申请公布号 | CN113894332A |
| 申请公布日 | 2022-01-07 |
| 授权公布号 | CN113894332B |
| 授权公告日 | 2023-01-31 |
| 分类号 | B23C3/00;B23C9/00;B23Q3/06;B23Q11/10 |
| 分类 | 机床;不包含在其他类目中的金属加工; |
| 申请人名称 | 深圳市久久犇自动化设备股份有限公司 |
| 申请人地址 | 广东省深圳市宝安区石岩街道石龙社区工业二路1号惠科工业园厂房2栋 |
专利法律状态
2024-01-09
专利权质押合同登记的生效、变更及注销
状态信息
专利权质押合同登记的生效;IPC(主分类):B23C3/00;专利号:ZL202111109886X;登记号:Y2023980073220;登记生效日:20231221;出质人:深圳市久久犇自动化设备股份有限公司;质权人:深圳农村商业银行股份有限公司上步支行;发明名称:数控机床用刀柄及加工方法;申请日:20210922;授权公告日:20230131
2023-01-31
授权
状态信息
授权
2022-01-25
实质审查的生效
状态信息
实质审查的生效;IPC(主分类):B23C3/00;申请日:20210922
2022-01-07
公布
状态信息
公布
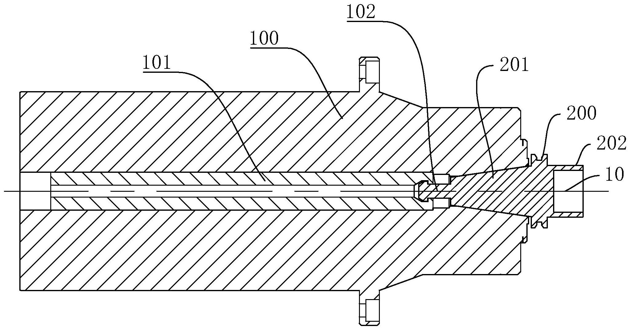
摘要
本发明公开了一种数控机床用刀柄及加工方法,涉及机床零部件领域,其技术方案要点是,具有形成中心回转轴的主体部;于主体部一端由主轴内的拉刀机构通过刀柄上端的拉钉实现对刀柄的拉紧固定的被接合端;所述被接合端包括被契合至主轴端部内形成负压吸附状态的被接合面,被接合面上沿被接合端的顶端侧自主体部跟部形成锥状,于锥状的被接合面上设置多组以主体部中心回转轴旋转对称的阿基米德螺旋沟槽段。技术效果是,上述刀柄具有阿基米德螺旋沟槽段,能够有效的防止刀柄粘附于主轴而卡刀,有效的降低刀柄与主轴锥口配合处的表面张力。工作时也具备良好的动平衡。


