授权公布号:CN214700919U
一种组装式分集水器
有效
申请
2021-01-29
申请公布
1970-01-01
授权
2021-11-12
预估到期
2031-01-29
| 申请号 | CN202120250023.3 |
| 申请日 | 2021-01-29 |
| 授权公布号 | CN214700919U |
| 授权公告日 | 2021-11-12 |
| 分类号 | F24D3/10;F24D19/10 |
| 分类 | 供热;炉灶;通风; |
| 申请人名称 | 迈拓仪表股份有限公司 |
| 申请人地址 | 江苏省南京市江宁滨江经济开发区喜燕路5号 |
专利法律状态
2021-11-12
授权
状态信息
授权
摘要
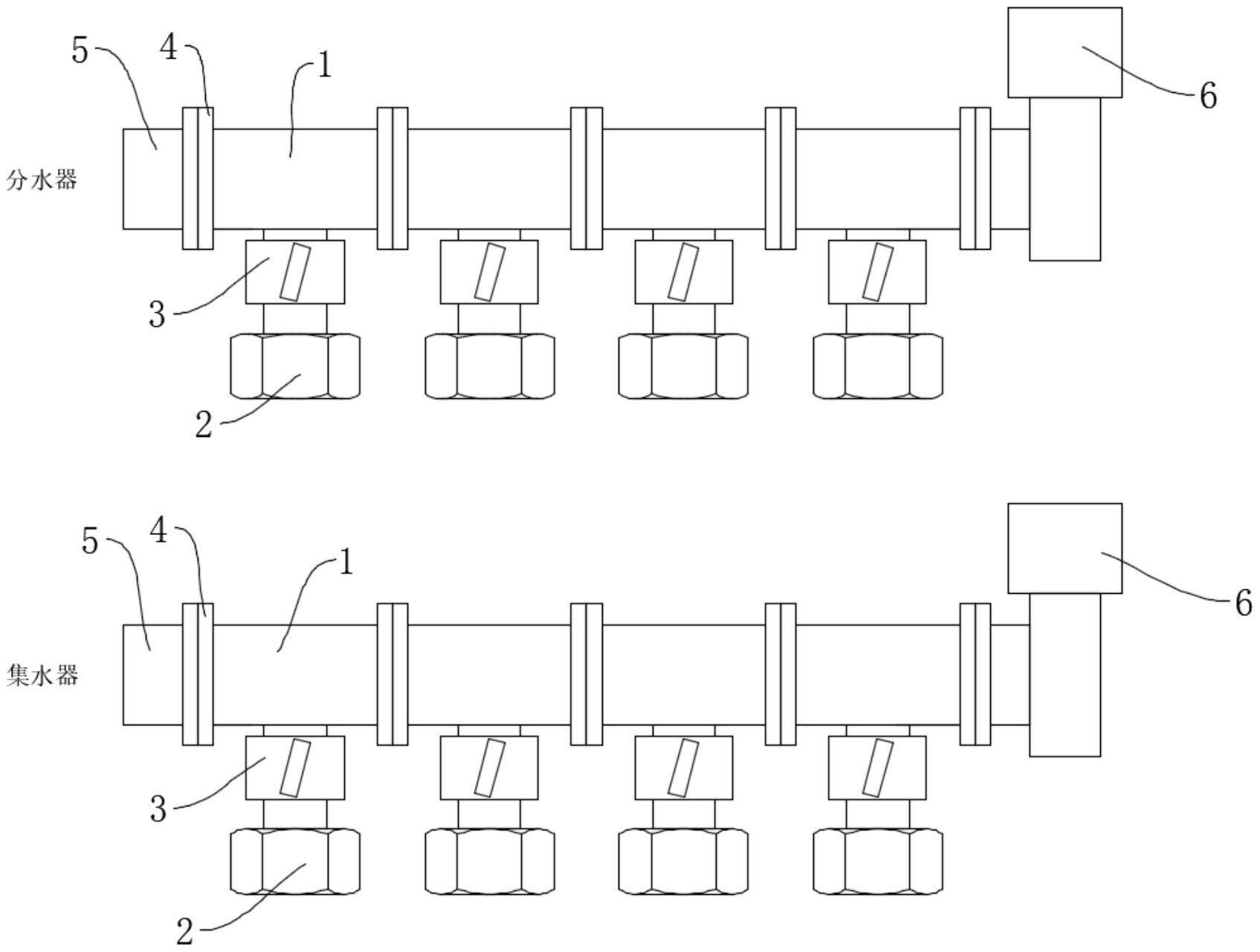
本实用新型公开了一种组装式分集水器,包括多个分集水器支管模块,每个支管模块的支管接头上有支管阀门,支管模块两端有法兰,支管模块与主管通过法兰连接,排气阀通过法兰连接到分集水器支管末端。本实用新型通过将能够根据客户需求将分集水器的支管模块随意组合,方便安装,调节维护简便。


