授权公布号:CN212227393U
一种活水加热方式的集成热水器
有效
申请
2020-04-20
申请公布
1970-01-01
授权
2020-12-25
预估到期
2030-04-20
| 申请号 | CN202020591202.9 |
| 申请日 | 2020-04-20 |
| 授权公布号 | CN212227393U |
| 授权公告日 | 2020-12-25 |
| 分类号 | F24H1/20 |
| 分类 | 供热;炉灶;通风; |
| 申请人名称 | 广东欧帝洁科技有限公司 |
| 申请人地址 | 广东省佛山市南海区狮山镇狮山工业园A区科技东路39号F座二楼之一 |
专利法律状态
2020-12-25
授权
状态信息
授权
摘要
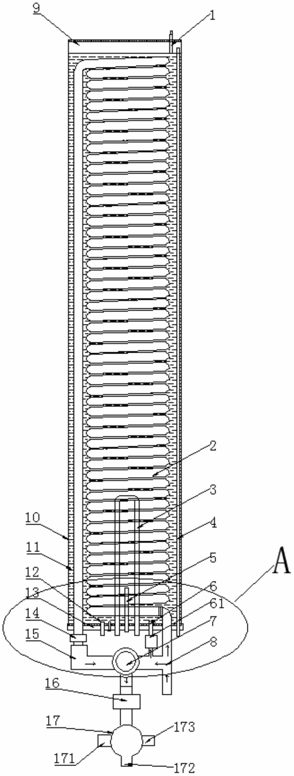
本实用新型提供一种活水加热方式的集成热水器,包括淋浴屏壳、水箱、水加热系统、混水阀、分流系统、控制系统,所述水箱设置在淋浴屏壳内部,其特征在于:所述水加热系统包括电热棒、波纹盘管,所述电热棒设置在水箱内、用于将水箱里的水体加热,所述波纹盘管的顶部浸没在水箱内的水体中,所述波纹盘管的出水端连接混水阀的热水进水端,所述波纹盘管的出水端连接自来水,自来水向波纹盘管、混水阀供应常温水,所述混水阀的混水出水管连接分流系统。本集成热水器将储水式热水器和即热式热水器的功能优点优化整合,在低功率工作条件下具有即热式热水器的出热水效果且无水垢、水质清新干净。


